EasyManua.ls Logo

Teka IB 6415 - Page 36

Teka IB 6415
Print Icon
To Next Page IconTo Next Page
To Next Page IconTo Next Page
To Previous Page IconTo Previous Page
To Previous Page IconTo Previous Page
Loading...
TR
36

Seramik cam







  
kumanda sistemi ile
 


temizlemeyin.

 

 
dokunmaktan

küçük çocuklar daimi
 
denetlenmedikçe,
ocaktan uzak




duyusal veya mental

veya bilgi ve tecrübe

sadece


ilgili yeteri bilgi
 

tehlikeleri



denetimsiz çocuklar






çünkü alev alabilir.
   
söndürmeye
 
 

kapak, tabak veya
battaniye ile alevleri




 
tehlikesinden

“Ana elektrik
kablosu zarar
 

hizmet birimi


CAUTION:

 


 




 
olmayan


sebebiyet verebilir.
Kurulum
  

   
  
   



   


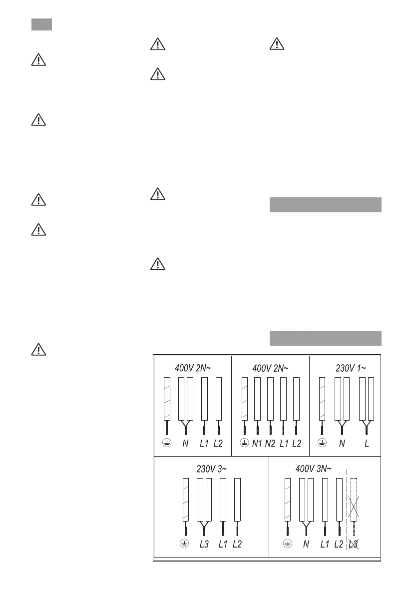
şekil 2
yeşil-sarı
mavi
kahverengi
gri
siyah
yeşil-sarı
mavi
kahverengi
gri
siyah
yeşil-sarı
mavi
kahverengi
gri
siyah
yeşil-sarı
mavi
kahverengi
gri
siyah
yeşil-sarı
mavi
kahverengi
gri
siyah
L3 KULLANMAYIN

Related product manuals