EasyManua.ls Logo

Teka IB 6415 - Page 60

Teka IB 6415
Print Icon
To Next Page IconTo Next Page
To Next Page IconTo Next Page
To Previous Page IconTo Previous Page
To Previous Page IconTo Previous Page
Loading...
RO
60
Avertismente de


sticla se sparge


plita pentru a evita

Acest aparat nu
este proiectat pentru
a lucra cu un
temporizator (Nu
  
aparat) extern sau a
unui sistem de

separate.

abur acest aparat.

componentele sale
accesibile, se poate
  

 
elementele de



  

 

Acest dispozitiv
poate fi exclusiv



persoanele cu
 
senzoriale sau
mentale, sau cei care
sunt lipsa de
 

atunci când



adecvate privind
utilizarea celor
  

 
 
 


copii

Copiii nu trebuie
   
dispozitivul.
 
 
periculos pentru a


deoarece acestea
pot lua foc. Nu




 



Nu pune nici un

   
Prevent un posibil
pericol de incendiu.

cablul de alimentare
este deteriorat,







  
aragaz fabricant de
uz casnic sau de
mijloacele de

  
utilizare appliance.
The a mijloacelor de

pot provoca
accidente.
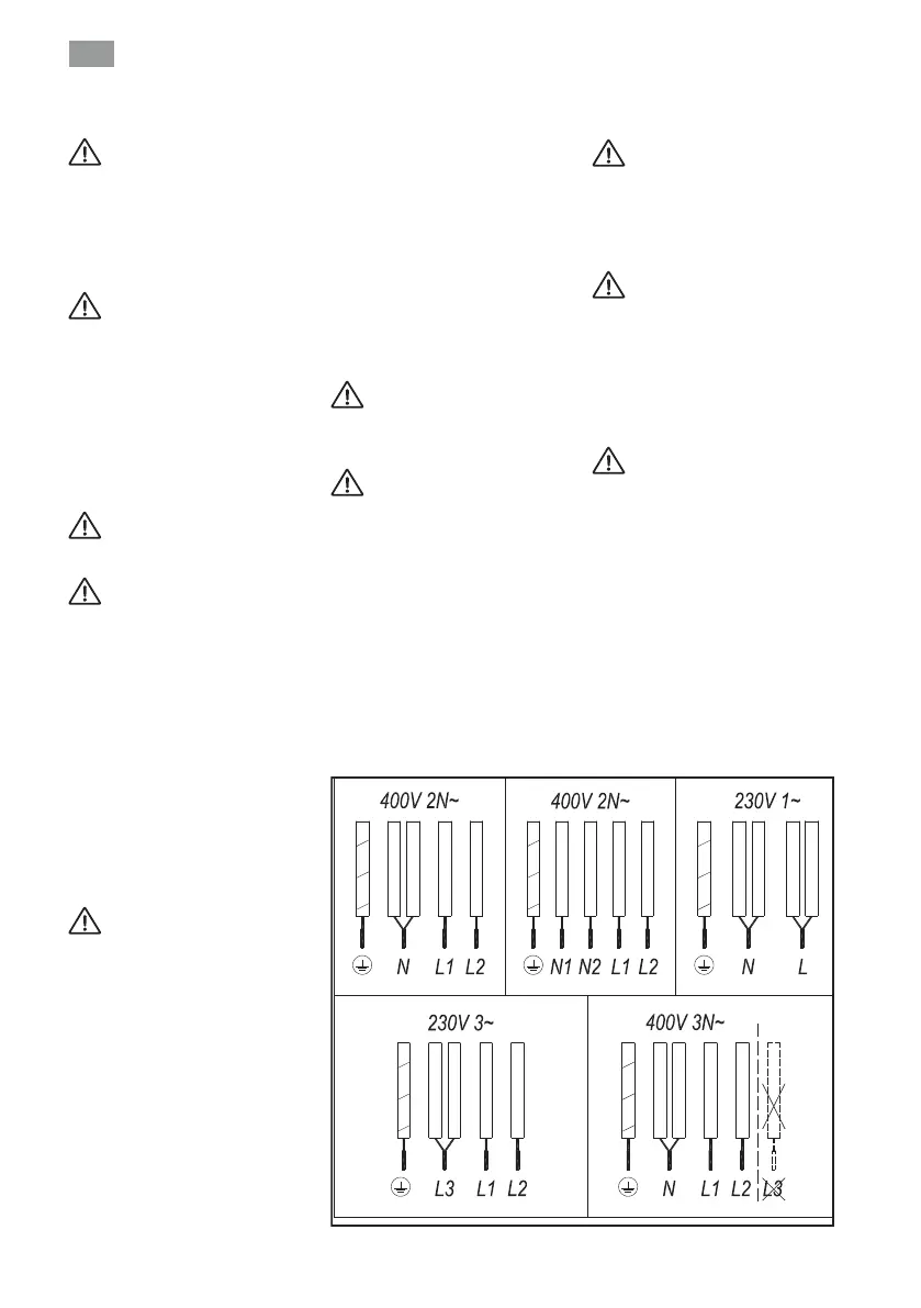
verde-gălbui
albastru
maro
gri
negru
verde-gălbui
albastru
maro
gri
negru
verde-gălbui
albastru
maro
gri
negru
verde-gălbui
albastru
maro
gri
negru
verde-gălbui
albastru
maro
gri
negru
NU FOLOSIŢI L3
fig. 1

Related product manuals