EasyManua.ls Logo

Teka IB 6415 - Page 66

Teka IB 6415
Print Icon
To Next Page IconTo Next Page
To Next Page IconTo Next Page
To Previous Page IconTo Previous Page
To Previous Page IconTo Previous Page
Loading...
IT
66
Avvertenze di
sicurezza:
Se il vetro

incrinato, staccare
immediatamente la
spina del piano di
cottura , per evitare
gli urti elettrici.
Questo

stato progettato
lavorare con un
temporizzatore
esterno (non
incorporato al
dispositivo) o per
funzionare con un
sistema di
telecomando
separato.
Non pulire questo
dispositivo,
utilizzando vapore.
Il dispositivo e le
sue parti accessibili
possono diventare
riscaldate durante il
funzionamento.
Evitare di toccare gli
elementi riscaldati. I

anni devono essere
tenuti lontano da
piano di cottura,
salvo che essi siano
permanentemente
sorvegliati.
Questo
dispositivo può
essere usato da
bambini solo se

anni o da persone

fisica, sensoriale o
mentale, o da
persone che non
hanno esperienza e
conoscenza, solo
quando sono
supervisionati e solo
se sono abbastanza
informati circa l’uso
del dispositivo e
circa gli eventuali
pericoli. Le
operazioni di pulizia
e di manutenzione
non possono essere
eseguiti da bambini
che non sono tenuti
sotto sorveglianza.
I bambini non
devono giocare con
il dispositivo.
Attenzione: È
pericoloso a cuocere
senza grasso o olio.
Questo può catturare
fuoco. Non tentare
mai di spegnere il
fuoco con l’acqua! In
tal caso, staccare
immediatamente la
spina del dispositivo

con un coperchio,
un piatto o una
coperta.
Non mettere
qualsiasi oggetto
sopra la zona di
cottura del piano di
cottura . Evitare di
potenziale pericolo
d’incendio.
“Se il cavo di

danneggiato, tale
cavo deve essere
sostituito dal
fabbricante o dal
servizio post-
vendita”
ATTENZIONE:
Usare solo protettori
di piano di cottura ,
progettati in modo
appropriato da parte
del fabbricante degli
elettrodomestici o le
 
utilizzati in questo
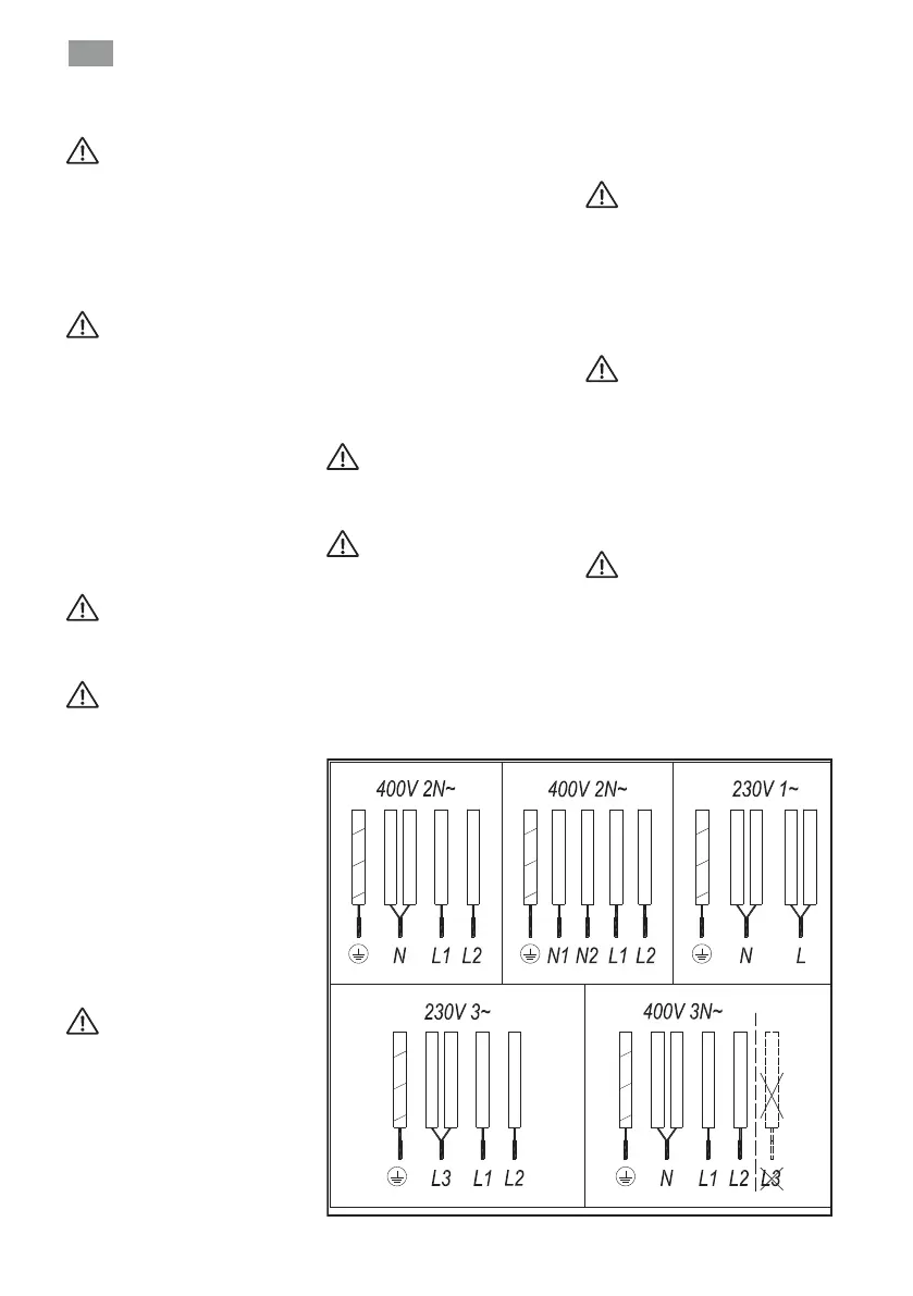
fig. 1
verde-giallo
blu
marrone
grigio
nero
verde-giallo
blu
marrone
grigio
nero
verde-giallo
blu
marrone
grigio
nero
verde-giallo
blu
marrone
grigio
nero
verde-giallo
blu
marrone
grigio
nero
NON USARE L3