EasyManua.ls Logo

Teka TB 6310 - Page 12

Teka TB 6310
Print Icon
To Next Page IconTo Next Page
To Next Page IconTo Next Page
To Previous Page IconTo Previous Page
To Previous Page IconTo Previous Page
Loading...
PT
12
Avisos de
segurança:
Sea vitrocerâmica
se partir ou rachar,
desligue
imediatamente a
placa para evitar
choques
eléctricos.
Este aparelho
não se destina a
trabalhar com um
temporizador
externo (que não
esteja incorporado
no aparelho) ou
com um sistema
de controlo remoto
separado.
Não limpe este
dispositivo a
vapor.
O dispositivo e
as respectivas
partes acessíveis
podem aquecer
durante o
funcionamento.
Evite tocar nos
elementos de
aquecimento. As
crianças com
PHQRVGHDQRV
devem manterse
afastadas da placa,
excepto se
estiverem sob
supervisão
constante.
Este dispositivo
só deve ser
utilizado por
crianças com mais
GHDQRVDV
pessoas com
capacidades
físicas, sensoriais
ou mentais, ou
sem experiência
ou conhecimentos,
GHYHP XWLOL]iOR
APENAS sob
supervisão ou se
lhes tiverem sido
dadas instruções
adequadas sobre a
utilização do
aparelho e se
compreenderem
os perigos do
mesmo. A limpeza
e a manutenção
não devem ser
realizadas por
crianças sem
supervisão.
As crianças não
devem brincar
com o dispositivo.
Precaução. É
perigoso cozinhar
com gordura ou
óleo sem a
presença de uma
pessoa, pois pode
ocorrer um
incêndio. Nunca
tente apagar um
incêndio com
iJXD1HVWHFDVR
desligue o
dispositivo e cubra
as chamas com
uma tampa, um
prato ou um
cobertor.
Não armazene
REMHFWRVQDViUHDV
de cozedura da
placa. Evite
possíveis riscos
de incêndio.
Se o cabo de
alimentação
¿J
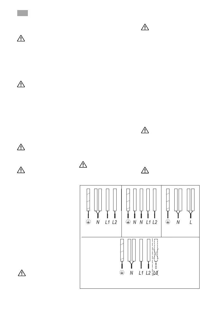
9
1/a
9
1/a
9
1/a
9
1/a
YHUGHDPDUHOR
D]XO
FLQ]HQWR
FDVWDQKR
SUHWR
YHUGHDPDUHOR
D]XO
FLQ]HQWR
FDVWDQKR
SUHWR
YHUGHDPDUHOR
D]XO
FLQ]HQWR
FDVWDQKR
SUHWR
YHUGHDPDUHOR
D]XO
FLQ]HQWR
FDVWDQKR
SUHWR
1286$5/

Related product manuals