EasyManua.ls Logo

Teka TB 6310 - Page 24

Teka TB 6310
Print Icon
To Next Page IconTo Next Page
To Next Page IconTo Next Page
To Previous Page IconTo Previous Page
To Previous Page IconTo Previous Page
Loading...
DE
24
Sicherheitshinweise:
Falls das
keramische Glas
zerbricht, ziehen Sie
sofort den Stecker
des Ofens heraus um
von dem elektrischen
Schlag zu vermeiden.
Dieses Gerät ist
nicht entwickelt, dafür
es mit einem externen
Timer (nicht im Gerät
montiert) oder einem
separaten
Fernbedienungssys-
tem zu arbeiten.
Reinigen Sie nicht
das Gerät mit
Wasserdampf.
Das Gerät und die
erreichbaren
Geräteteile können
erhitzen. Vermeiden
Sie die erhitzte
Geräteteil zu
berühren. Die Kinder,
GLHMQJHUDOV-DKUH
alt sind, sollen von
dem Ofen fernbleiben,
falls sie nicht ständig
beaufsichtigt werden.
Das Gerät nur von
der Kinder, die alter
DOV-DKUHVLQGXQG
der Personen, die
physikalischen
,sensorischen oder
mentalen
Fähigkeitsstörun-
gen oder
unzureichenden
Kenntnisse und
Erfahrungen haben
gebraucht wird,
falls sie nur
beaufsichtigt oder
über Gebrauch des
Geräts und die
bestehenden
Gefahren des
Gebrauchs
ausreichend
informiert werden.
Reinigung und
3ÀHJHQN|QQHQYRQ
der Kinder, die nicht
beaufsichtigt
werden, nicht
gemacht werden.
Die Kinder sollen
nicht mit dem Gerät
spielen.
Achtung: Es ist
gefährlich ohne Öl
]XNRFKHQZHLOGDV
Gerät brennbar ist.
Versuchen Sie
überhaupt nicht das
Feuer mit Wasser
zu löschen. In
diesem Fall schalten
Sie den Ofen ab und
bedecken die
Flammen mit
Deckel, Teller oder
%HWWGHFNH
Setzen Sie keine
Sache auf die
Kochstelle des
Ofens auf.
Vermeiden Sie von
dem Gefähr des
möglichen Feuers.
“Falls das
primäre elektrische
Kabel beschädigt
wird, soll das Kabel
von dem Hersteller
oder Kundendienst
getauscht werden.”
ACHTUNG:
Verwenden Sie die
%HVFKW]HU GHU
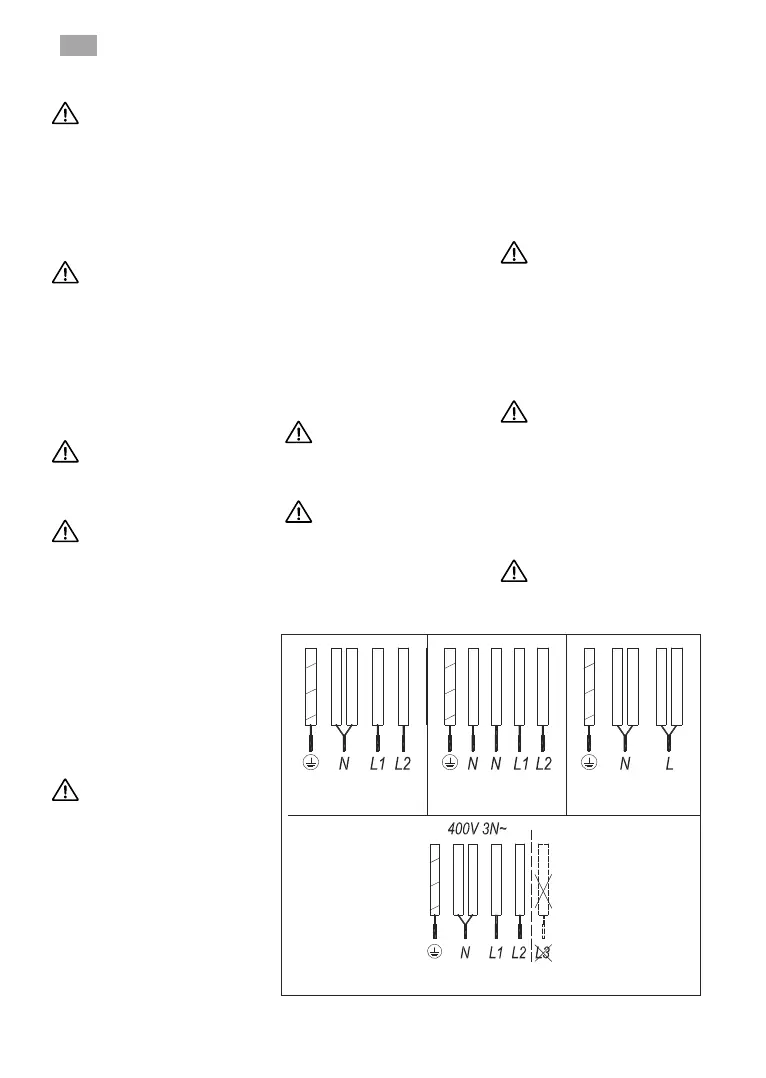
9
1/a
9
1/a
9
1/a
9
1/a
JUQ
$EE
JHOE
EODX
EUDXQ
JUDX
VFKZDU]
JUQJHOE
EODX
EUDXQ
JUDX
VFKZDU]
JUQJHOE
EODX
EUDXQ
JUDX
VFKZDU]
JUQJHOE
EODX
EUDXQ
JUDX
VFKZDU]
/1,&+79(5:(1'(1

Related product manuals