EasyManua.ls Logo

Teka TB 6310 - Page 30

Teka TB 6310
Print Icon
To Next Page IconTo Next Page
To Next Page IconTo Next Page
To Previous Page IconTo Previous Page
To Previous Page IconTo Previous Page
Loading...
FR
30
Avertissements de
sécurité:
En cas de bris ou
GH¿VVXUHVGXYHUUH
céramique, il est
recommandé de
débrancher
immédiatement la
plaque de cuisson
pour éviter les
chocs électriques.
Le présent
appareil par contre
ne fonctionne pas
avec une minuterie
externe (non
LQWpJUpHjODSSDUHLO
ni avec un système
de télécommande
séparé.
Il ne faut pas
nettoyer cet appareil
jODYDSHXU
Il est possible
TXHODSSDUHLOHWVHV
parties accessibles
chauffent pendant
le fonctionnement.
Il faut éviter de
toucher les
éléments
chauffants. Il est
obligatoire pour les
enfants de moins de
 DQV GHQH SDV
VDSSURFKHUGHOD
plaque de cuisson,
VDXI VLOV VRQW
surveillés en
permanence.
Cet appareil ne
peut être utilisé que
par des enfants de
DQVRXSOXV GHV
personnes dont les
capacités
physiques,
sensorielles ou
mentales sont
altérées ou qui
manquent
GH[SpULHQFHHWGH
connaissances,
81,48(0(17VLOV
sont surveillés ou
VLOVRQWUHoXGHV
instructions
adéquates sur
OXWLOLVDWLRQ GH
ODSSDUHLO HW
comprennent les
dangers que son
utilisation
comporte. Il est
interdit aux enfants
non surveillés
GHIIHFWXHU OH
nettoyage et
OHQWUHWLHQ GH
ODSSDUHLO
Ne pas permettre
aux enfants de jouer
DYHFODSSDUHLO
Précautions On
risque de cuisiner
avec de la graisse
RXGHOKXLOHVDQV
être présent, car
celles-ci peuvent
prendre feu. Il ne
faut jamais essayer
GpWHLQGUHXQIHX
DYHF GH OHDX
Déconnectez dans
FHFDVODSSDUHLOHW
FRXYUH]OHVÀDPPHV
avec un couvercle,
une plaque ou une
couverture.
Évitez de mettre
des objets sur les
surfaces de cuisson
de la table de c.
Prévenir un
éventuel risque
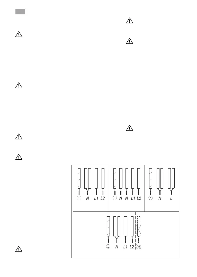
9
1/a
9
1/a
9
1/a
9
1/a
YHUWMDXQH
EOHX
PDUURQ
JULV
QRLU
YHUWMDXQH
EOHX
PDUURQ
JULV
QRLU
YHUWMDXQH
EOHX
PDUURQ
JULV
QRLU
YHUWMDXQH
EOHX
PDUURQ
JULV
QRLU
1(3$687,/,6(5/
¿J

Related product manuals