EasyManua.ls Logo

Teka TB 6310 - Page 37

Teka TB 6310
Print Icon
To Next Page IconTo Next Page
To Next Page IconTo Next Page
To Previous Page IconTo Previous Page
To Previous Page IconTo Previous Page
Loading...
TR
37
*YHQOLN8\DUÕODUÕ
Seramik cam
NÕUÕOÕUYH\DoDWODUVD
elektrik
oDSPDVÕQGDQ
NDoÕQPDN LoLQ
GHUKDORFD÷ÕQ¿úLQL
oÕNDUÕQ
%XFLKD]KDULFL
ELU ]DPDQOD\ÕFÕ
(cihaza monte
GH÷LOGLUYH\DD\UÕ
bir uzaktan
kumanda sistemi
LOHoDOÕúWÕUÕOPDNLoLQ
WDVDUODQPDPÕúWÕU
%XFLKD]ÕEXKDUOD
temizlemeyin.
Cihaz ve
HULúLOHELOLUSDUoDODUÕ
oDOÕúPDVÕUDVÕQGD
ÕVÕQDELOLU ,VÕQDQ
parçalara
dokunmaktan
NDoÕQÕQ\DúÕQGDQ
küçük çocuklar
GDLPLELUúHNLOGH
denetlenmedikçe,
ocaktan uzak
WXWXOPDOÕGÕU
%XFLKD]VDGHFH
 \Dú YH ]HUL
oRFXNODUWDUDIÕQGDQ
fiziksel, duyusal
veya mental
kabiliyet
ER]XNOXNODUÕYH\D
bilgi ve tecrübe
HNVLNOL÷LRODQODUGD
ise sadece
GHQHWOHQGL÷LQGH
YH\D FLKD]ÕQ
NXOODQÕPÕLOHLOJLOL
yeteri bilgi
YHULOGL÷LQGH YH
NXOODQÕPÕQPHYFXW
tehlikeleri
DQODWÕOGÕ÷ÕQGD
NXOODQÕODELOLU
7HPL]OLNYH EDNÕP
LúOHPOHUL LVH
denetimsiz
oRFXNODUWDUDIÕQGDQ
JHUoHNOHúWLULOHPH]
dRFXNODUFLKD]
LOHR\QDPDPDOÕGÕU
'LNNDW<D÷VÕ]
SLúLUPHN
WHKOLNHOLGLUoQN
DOHYDODELOLU<DQJÕQÕ
asla su ile
söndürmeye
oDOÕúPD\ÕQ %X
GXUXPGDFLKD]ÕQ
ED÷ODQWÕVÕQÕNHVLQ
ve kapak, tabak
veya battaniye ile
DOHYOHULNDSDWÕQ
2FD÷ÕQSLúLUPH
DODQODUÕQDKHUKDQJL
ELUHú\DNR\PD\ÕQ
0XKWHPHO\DQJÕQ
tehlikesinden
NDoÕQÕQ
“Ana elektrik
kablosu zarar
J|UPúVHUHWLFL
YH\DVDWÕúVRQUDVÕ
hizmet birimi
WDUDIÕQGDQ
GH÷LúWLULOPHOLGLU´
CAUTION:
'ø..$76DGHFHHY
Hú\DVÕ UHWLFLVL
WDUDIÕQGDQX\JXQ
ELU úHNLOGH
WDVDUODQPÕúSLúLUPH
\]H\LNRUX\XFXODUÕ
veya bu cihazda
KDOL KD]ÕUGD
NXOODQÕODQ
NRUX\XFXODUÕ
NXOODQÕQ 8\JXQ
olmayan
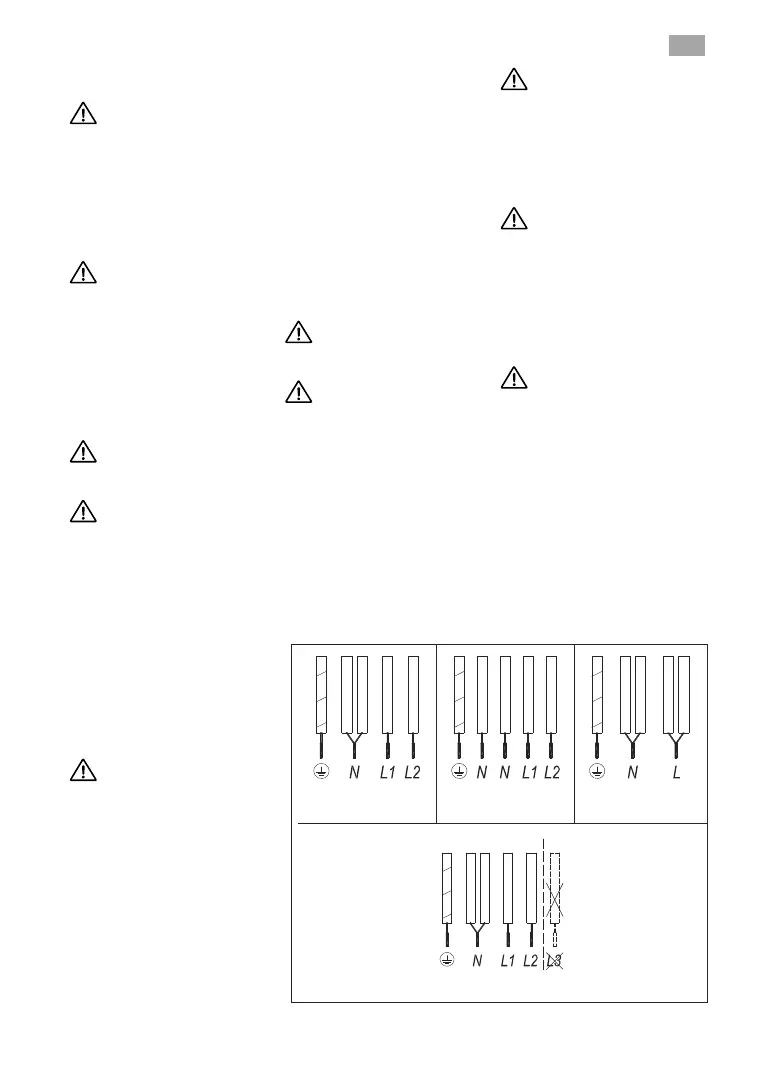
9
1/a
9
1/a
9
1/a
9
1/a
úHNLO
\HúLOVDUÕ
PDYL
NDKYHUHQJL
JUL
VL\DK
\HúLOVDUÕ
PDYL
NDKYHUHQJL
JUL
VL\DK
\HúLOVDUÕ
PDYL
NDKYHUHQJL
JUL
VL\DK
\HúLOVDUÕ
PDYL
NDKYHUHQJL
JUL
VL\DK
/.8//$10$<,1

Related product manuals