EasyManua.ls Logo

Teka TB 6310 - Page 49

Teka TB 6310
Print Icon
To Next Page IconTo Next Page
To Next Page IconTo Next Page
To Previous Page IconTo Previous Page
To Previous Page IconTo Previous Page
Loading...
CS
49
%H]SHþQRVWQt
XSR]RUQČQt
9 SĜtSDGČ
poškození nebo
prasknutí
sklokeramiky,
VSRUiN RNDPåLWČ
odpojte od
elektrického
proudu, hrozí
QHEH]SHþt ~UD]X
elektrickým
proudem.
6SRWĜHELþQHQt
XUþHQSURSUiFLV
H[WHUQtPþDVRYêP
VStQDþHP QHQt
VRXþiVWtSĜtVWURMH
nebo samostatným
GiONRYêP
RYOiGDþHP
6SRWĜHELþ
QHþLVWČWHSiURX
6SRWĜHELþDMHKR
GRVWXSQpþiVWLVH
SĜLSURYR]XPRKRX
RKĜiW9\YDUXMWHVH
GRW\NX WČFKWR
KRUNêFKþiVWt'ČWL
PODGãtOHWSRNXG
nejsou pod
QHXVWiORX
kontrolou, by se
QHPČOLNHVSRUiNX
SĜLEOLåRYDW
'ČWLOHWpDVWDUãt
osoby s fyzickou,
psychickou nebo
PHQWiOQtSRUXFKRX
a osoby nezkušené
PRKRX SRXåtYDW
WHQWR VSRWĜHELþ
SRX]HSRSRGiQt
GRVWDWHþQêFK
informací o jeho
provozu a o
SĜtSDGQpP
QHEH]SHþtSĜLMHKR
SRXåtYiQtýLãWČQtD
~GUåEX QHVPt
SURYiGČWGČWLEH]
dozoru.
'ČWLVLQHVPtVH
VSRWĜHELþHPKUiW
Pozor: Je
QHEH]SHþQpYDĜLWV
tukemneboolejem
bez dozoruosoby,
PRåQRVW Y]QLNX
SRåiUX1LNG\VH
nepokoušejte
XKDVLWSRåiUYRGRX
V takové situaci
RGSRMWHVSRWĜHELþ
od elektrického
SURXGX D SRåiU
uduste poklicí,
WDOtĜHPQHERGHNRX
1HRGNOiGHMWH
UĤ]Qp YČFL QD
SORFKX VSRUiNX
Vyvarujete se tak
PRåQpPXSRåiUX
Pokud byl
poškozen hlavní
SĜtYRGRYê NDEHO
VSRWĜHELþHPXVt
EêWY\PČQČQSRX]H
výrobcem nebo
autorizovanou
servisní jednotkou.
POZOR:
3RXåtYHMWHSRX]H
YKRGQpFKUiQLþH
varné desky
vyrobené pro
GRPiFt SRWĜHE\
QHER RULJLQiOQt
FKUiQLþH YDUQp
desky tohoto
VSRWĜHELþH
3RXåtYiQt
nevhodných
FKUiQLþĤ PĤåH
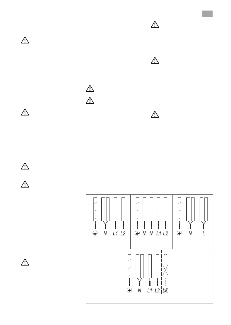
9
1/a
9
1/a
9
1/a
9
1/a
REU
]HOHQRåOXWi
PRGUi
NDãWDQRYi
ãHGi
þHUQi
]HOHQRåOXWi
PRGUi
NDãWDQRYi
ãHGi
þHUQi
]HOHQRåOXWi
PRGUi
NDãWDQRYi
ãHGi
þHUQi
]HOHQRåOXWi
PRGUi
NDãWDQRYi
ãHGi
þHUQi
1(328äË9$7/

Related product manuals