EasyManua.ls Logo

Teka TB 6315 - Safety and Precautions

Teka TB 6315
Print Icon
To Next Page IconTo Next Page
To Next Page IconTo Next Page
To Previous Page IconTo Previous Page
To Previous Page IconTo Previous Page
Loading...
EN
18
Safety warnings:
If the ceramic
glass breaks or
cracks, im
mediately
unplug the hob to
avoid electric
shocks.
This appliance is
not designed to
work with an
external timer (not
built into the
appliance) or a
separate remote
control system.
Do not steam
clean this device.
The device and
its accessible parts
may heat up during
operation. Avoid
touching the
heating elements.
Children younger
WKDQ \HDUV ROG
must stay away
from the hob unless
they are
permanently
supervised.
This device may
solely be used by
FKLOGUHQ\HDUVROG
or older, people with
impaired physical,
sensory or mental
abilities, or those
who are lack of
experience and
knowledge, ONLY
when supervised or
if they have been
given adequate
instruction on the
use of the device
and understand the
dangers its use
involves. User
cleaning and
maintenance may
not be done by
unsupervised
children.
Children must
not play with the
device.
Precaution. It is
dangerous to cook
with fat or oil without
being present, as
these may catch
fire. Never try to
extinguish a fire
with water! in this
event disconnect
the device and
cover the flames
with a lid, a plate or
a blanket.
Do not put any
object on the
cooking areas of
the hob.Prevent a
SRVVLEOH¿UHKD]DUG
“If the mains
cord is damaged,
should be replaced
by the manufacturer
or its after sales
service”
CAUTION: Use
only cooktop
protectors
appropriately
designed by the
household
manufacturer or the
protectors already
used in this
appliance.The use
of inappropriate
protectors could
cause accidents.
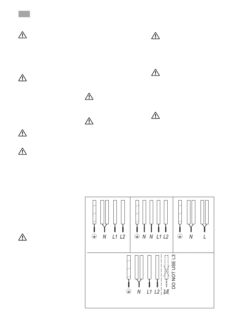
¿J
9
1/a
9
1/a
9
1/a
JUHHQ\HOORZ
EOXH
EURZQ
JUH\
EODFN
JUHHQ\HOORZ
EOXH
EURZQ
JUH\
EODFN
JUHHQ\HOORZ
EOXH
EURZQ
JUH\
EODFN
9
1/a
JUHHQ\HOORZ
EOXH
EURZQ
JUH\
EODFN

Related product manuals