EasyManua.ls Logo

Teka TB 6315 - Page 6

Teka TB 6315
Print Icon
To Next Page IconTo Next Page
To Next Page IconTo Next Page
To Previous Page IconTo Previous Page
To Previous Page IconTo Previous Page
Loading...
ES
6
Advertencias de
seguridad:
En caso de
URWXUDR¿VXUDGHO
YLGULRFHUiPLFROD
HQFLPHUDGHEHUi
desconectarse
inmediatamente de
la toma de corriente
para evitar la
posibilidad de sufrir
un choque
eléctrico.
Este aparato no
HVWiGLVHxDGRSDUD
funcionar a través
de un temporizador
externo (no
incorporado al
propio aparato), o
un sistema de
control remoto.
No se debe
utilizar un limpiador
de vapor sobre este
aparato.
El aparato y sus
partes accesibles
pueden calentarse
durante su
funcionamiento.
Evite tocar los
elementos
calefactores. Los
QLxRVPHQRUHVGH
DxRV GHEHQ
mantenerse
alejados de la
encimera, a menos
que se encuentren
bajo supervisión
permanente.
Este aparato
puede ser utilizado
SRUQLxRVFRQRFKR
R PiV DxRV GH
edad, personas
con reducidas
capacidades
físicas, sensoriales
o mentales, o falta
de experiencia y
conocimientos,
SÓLO bajo
supervisión, o si se
les ha dado la ins-
trucción apropiada
acerca del uso del
aparato y com-
prenden los
peligros que su
uso implica. La
limpieza y
mantenimiento a
cargo del usuario
no han de ser reali-
]DGDVSRUQLxRVVLQ
supervisión.
/RVQLxRVQR
deben jugar con el
aparato.
Precaución. Es
peligroso cocinar
con grasas o
aceites sin estar
presente, ya que
pueden producir
fuego. ¡Nunca trate
de extinguir un
fuego conagua! en
ese caso
desconecte el
aparato y cubra las
llamas con una
tapa, un plato o una
manta.
No almacene
ningún objeto
sobre las zonas de
cocción de la
encimera. Evite
posibles riesgos de
incendio.
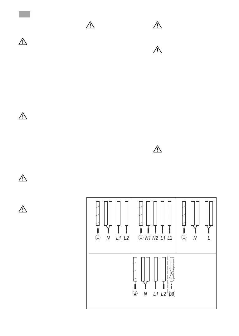
YHUGHDPDULOOR
D]XO
PDUUyQ
JULV
QHJUR
YHUGHDPDULOOR
D]XO
PDUUyQ
JULV
QHJUR
YHUGHDPDULOOR
D]XO
PDUUyQ
JULV
QHJUR
YHUGHDPDULOOR
D]XO
PDUUyQ
JULV
QHJUR
1286$5/
¿J
9
1/a
9
1/a
9
1/a
9
1/a

Related product manuals