EasyManua.ls Logo

Telwin MULTIFUNCTION BATTERY CHARGER - Page 54

Telwin MULTIFUNCTION BATTERY CHARGER
160 pages
Print Icon
To Next Page IconTo Next Page
To Next Page IconTo Next Page
To Previous Page IconTo Previous Page
To Previous Page IconTo Previous Page
Loading...
- 54 -
   
 
   .  
:“”  “” 


()       ”   
   
        
.   
  Ah 
  (Ah)      “”  
.         
  4.4
.      
       -
             -
.(- ) 
.(+ )            -
. 
    -
.( )    
     -
(50 )      
.5
!       
  :
             -
)      
   
.(
   15  10   
     -
.        
             -

       
  .
.    
/   1.5
         
   -
. 
  
 
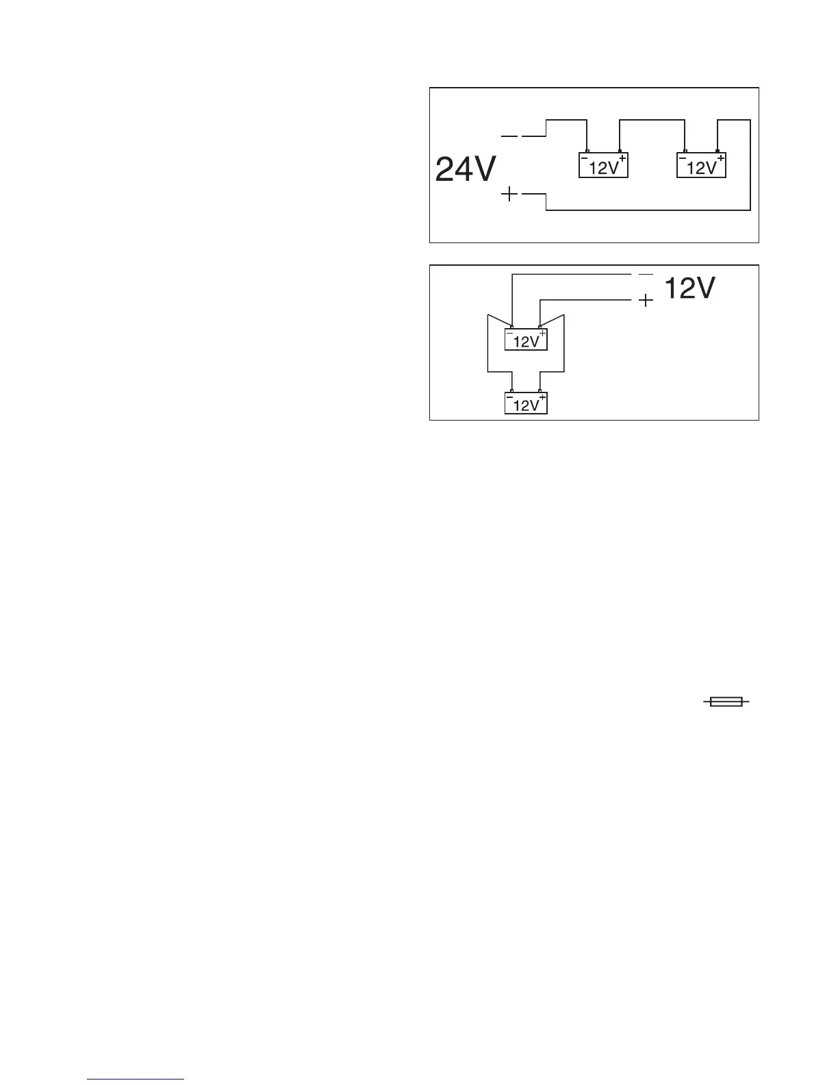
  (- +)          -
.(
 
)      
            -
         
    
        


    
   .
.
   2.5
.“  ”         -
   3.5
.        -
(- )          -
.(+ )        
. 
    -
  .6
       
   -
.  
        
    -
 ” 
   /  
 
.“” 

Related product manuals