EasyManua.ls Logo

Terex T25 - Page 18

Terex T25
74 pages
Print Icon
To Next Page IconTo Next Page
To Next Page IconTo Next Page
To Previous Page IconTo Previous Page
To Previous Page IconTo Previous Page
Loading...
Operating Instructions and Parts Manual
18 Terex T25I and T45I Super Quiet Generator
June 2006
REV A
This relay is mounted behind the control panel and
monitors the current draw and uneven current
draw to protect the generator set. This trip setting
is set at the factory with the proper kW using a
loadbank.
THIS SETTING SHOULD NEVER BE CHANGED
OR GENERATOR FAILURE WILL OCCUR.
The time delay setting is on the right side of the
relay and this setting may need to be adjusted. If
the overcurrent is tripping on small load condi-
tions, the time delay setting needs to be turned
clockwise a 1/4 turn. This should correct the
problem.
NOTICE: Call TEREX Service for wiring and
troubleshooting information.
SHUTDOWN PROCEDURES
NEVER SHUT THE UNIT DOWN WHILE
UNDER LOAD. THIS COULD CAUSE SERIOUS
INJURIES TO THE PERSON OPERATING THE
MACHINE OR DAMAGE THE GENERATOR.
NEVER SHUT THE UNIT DOWN WITH THE
MAIN GENERATOR CIRCUIT BREAKER IN THE
“ON” POSITION. THIS CAN CAUSE DAMAGE
TO THE GENERATOR AND/OR THE CON-
NECTED APPARATUS.
Turn all generator breakers to the “OFF”
position.
Allow the engine to run for 5 minutes under no
load until the coolant temperature gauge reads
approximately 175°F as a cool down cycle.
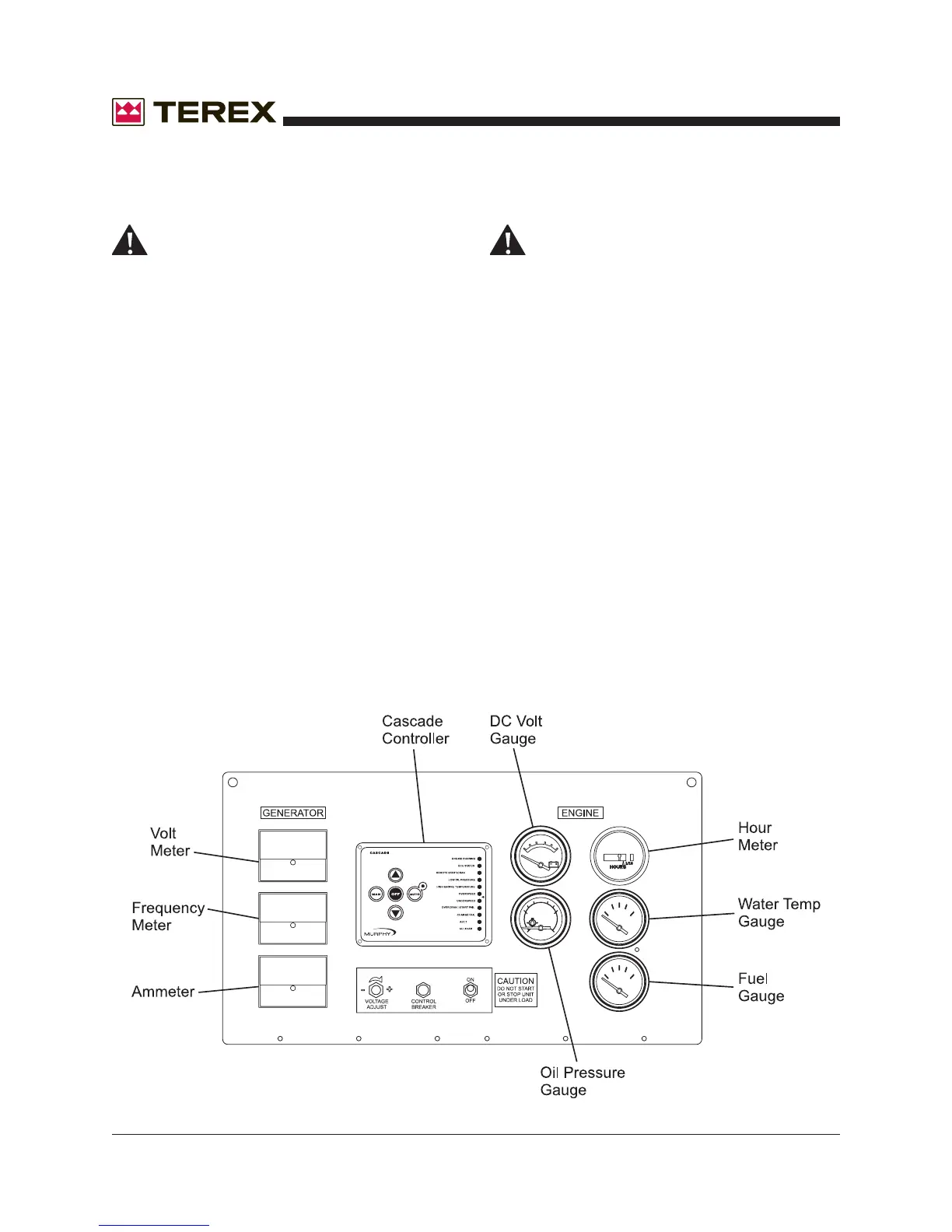
Stop the engine by pushing the Cascade
Controller “OFF” button.
OPERATING INSTRUCTIONS (Cont.)
OVERCURRENT PROTECTION

Other manuals for Terex T25

Related product manuals