EasyManua.ls Logo

Texas Instruments 990 - Major Terminal System Components; Model 911 VDT Controller Block Diagram; VDT Controller

Texas Instruments 990
122 pages
Print Icon
To Next Page IconTo Next Page
To Next Page IconTo Next Page
To Previous Page IconTo Previous Page
To Previous Page IconTo Previous Page
Loading...
~-------
~
945423-9701
COMPUTER
(A)
134308
ALARM
ENABLE
VDT
0
MODEM
AUDIO
\
CONTROL
VIDEO
DATA
J
91
1
LOGIC
DISPLAY
\
UNIT
..
KEYBOARD
DATA
TERMINAL
STATUS
J
J
...
911
VDT
-
CONTROLLER
CRU
SERIAL
r
+-j
AUDIO
FROM
,.....
DATA
TO/FROM
COMPUTER
(A)134309
+-
------
MODEM
MODULE
"-+
+-
(JUMPER
INPUT)
KEYBOARD
ALARM
ENABLE
VDT
1
MODEM
AUDIO
CONTROL
7
911
LOGIC
VIDEO
DATA
DISPLAY
KEYBOARD
DATA
\
UNIT
..
..
TERMINAL
STATUS
)
I"'"
KEYBOARD
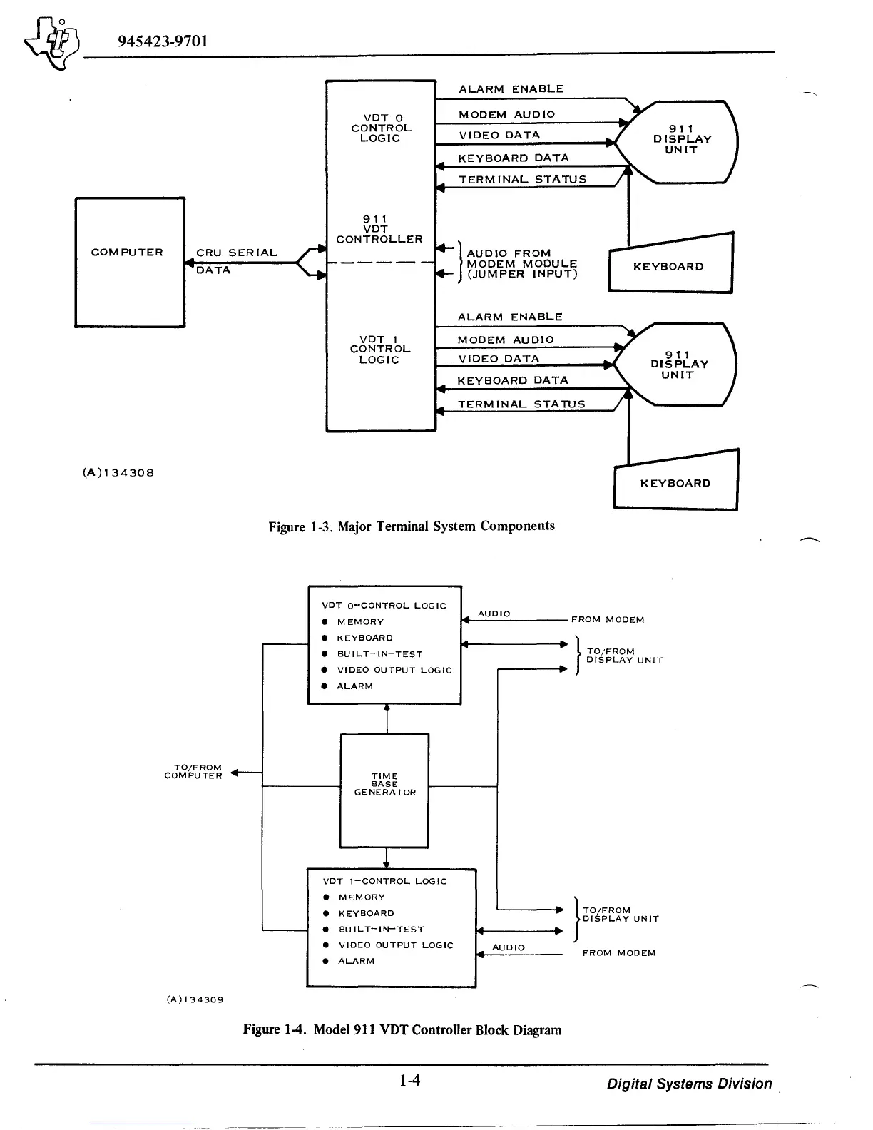
Figure 1-3. Major Terminal System Components
VDT
O-CONTROL
LOGIC
MEMORY
KEYBOARD
BU
IL
T-IN-TEST
VIDEO
OUTPUT
LOGIC
ALARM
r
TIME
BASE
GENERATOR
~
VDT
l-CONTROL
LOGIC
MEMORY
KEYBOARD
BU
IL
T-IN-TEST
VIDEO
OUTPUT
LOGIC
ALARM
AUDIO
AUDIO
FROM
MODEM
}
TO/FROM
DISPLAY
UNIT
}
TO/FROM
DISPLAY
UNIT
FROM
MODEM
Figure 1-4. Model 911 VDT Controller Block Diagram
"
}
-
1-4
Digital Systems Division

Table of Contents

Other manuals for Texas Instruments 990

Related product manuals