EasyManua.ls Logo

THOMSON TT650BT - Product Setup; Box Contents and Power Supply

THOMSON TT650BT
Print Icon
To Next Page IconTo Next Page
To Next Page IconTo Next Page
To Previous Page IconTo Previous Page
To Previous Page IconTo Previous Page
Loading...
- EN 14 -
Contents of the box
Vinyl Turntable
RCA 󰄋ereo audio cable
User manual
45 rpm Adapter
Power supply
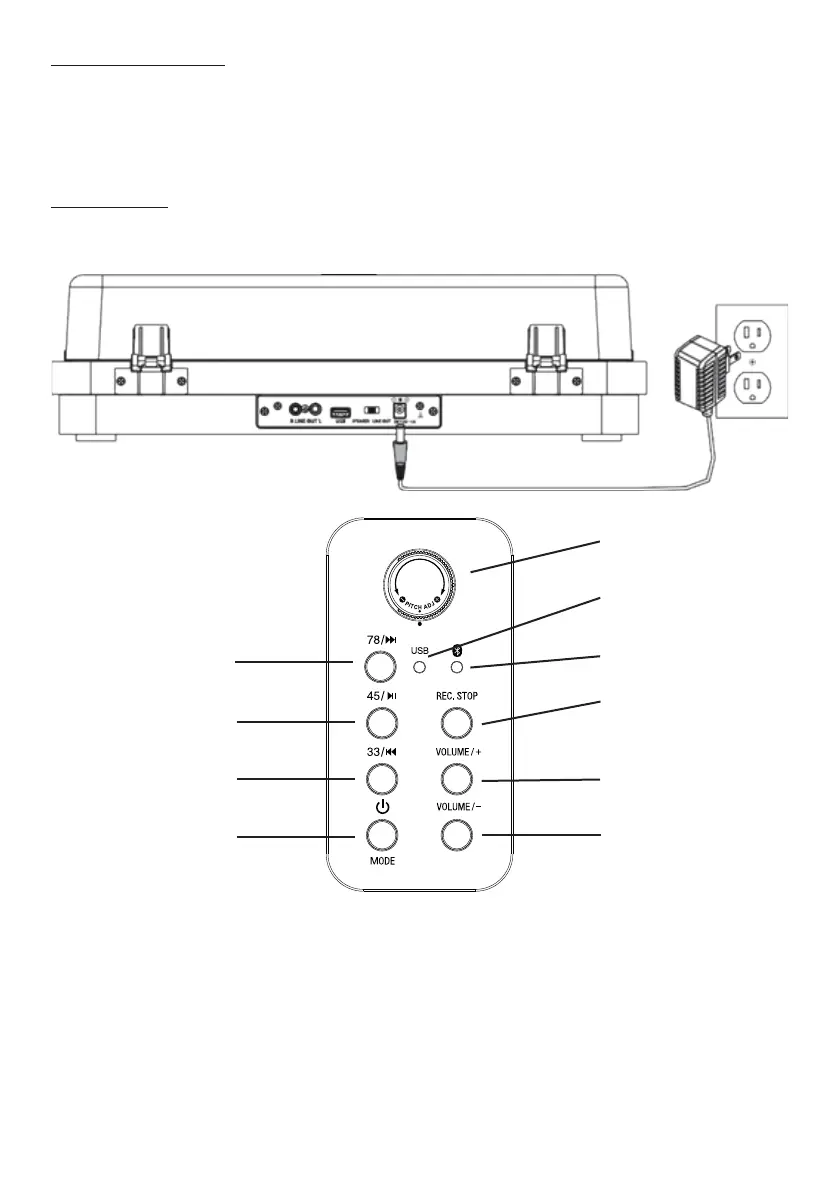
Plug the mains adapter (included) into a 󰘵andard power socket.
In turntable mode: Speed 78
revolutions; In USB mode: Next
track.
Adju󰘵ing the turntable: turn left
or right to precisely adju󰘵 the
speed.
USB function indicator light.
Bluetooth Pairing Indicator
Recording 󰘵art and 󰘵op button.
Increase the volume.
Decrease the volume.
In turntable mode: Speed 45
revolutions;
In USB mode: Play/Pause;
In Bluetooth mode: Pairing button.
In turntable mode: Speed 33
revolutions; In USB mode:
Previous Track.
Press to turn on and choose the
mode, long press to turn o󰘯.

Related product manuals