EasyManua.ls Logo

THOMSON TT650BT - Zawartość Opakowania

THOMSON TT650BT
Print Icon
To Next Page IconTo Next Page
To Next Page IconTo Next Page
To Previous Page IconTo Previous Page
To Previous Page IconTo Previous Page
Loading...
- PL 74 -
Zawartość opakowania
Gramofon
Kabel audio 󰄋ereo RCA
In󰄋rukcja obsługi
Adapter 45 obr./min
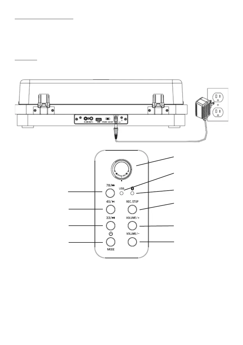
Zasilanie
Podłączyć zasilacz sieciowy zewnętrzny do 󰘵andardowego gniazdka ściennego.
W trybie odtwarzania z płyty:
prędkość 78 obr./min; W trybie
USB: Kolejna ścieżka.
U󰘵awienia gramofonu:
obracać w lewo i w prawo, aby
precyzyjnie u󰘵awić prędkość.
Kontrolka dla funkcji USB.
Kontrolka parowania Bluetooth
Dotknąć, aby rozpocząć lub
zatrzymać nagrywanie.
Zwiększanie głośności.
Zmniejszanie głośności.
W trybie odtwarzania z płyty:
prędkość 45 obr./min;
W trybie USB: Odtwarzanie/pauza;
W trybie Bluetooth: przycisk
ponownego parowania.
W trybie odtwarzania z płyty:
prędkość 33 obr./min; W trybie
USB: poprzednia ścieżka.
Nacisnąć, aby włączyć i wybrać
tryb. Nacisnąć długo, aby
wyłączyć.

Related product manuals