EasyManua.ls Logo

THOMSON TT650BT - Contenuto Della Confezione

THOMSON TT650BT
Print Icon
To Next Page IconTo Next Page
To Next Page IconTo Next Page
To Previous Page IconTo Previous Page
To Previous Page IconTo Previous Page
Loading...
- IT 34 -
Contenuto della confezione
Giradischi per vinili
Cavo audio 󰄋ereo RCA
Manuale utente
Adattatore 45 giri
Alimentazione
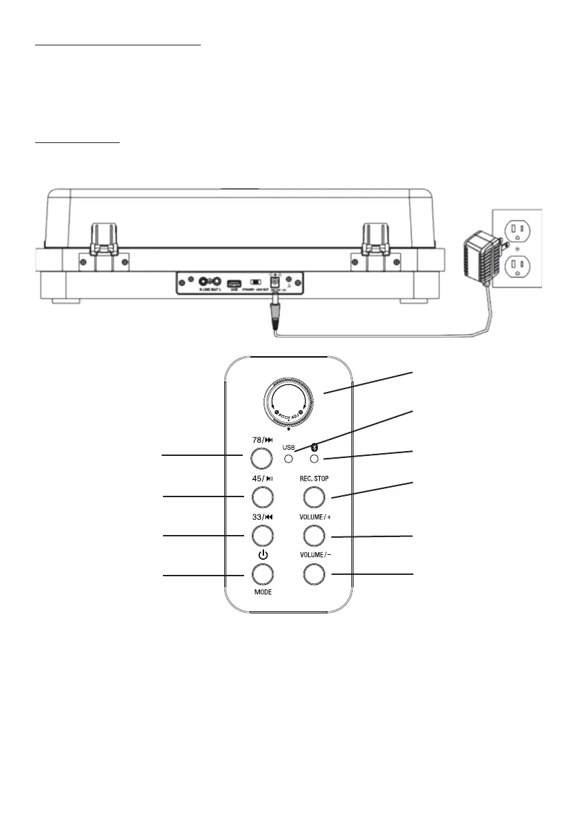
Collegare l'adattatore CA e󰘵erno a una presa a muro 󰘵andard.
In modalità giradischi: velocità
78 giri; In modalità USB: brano
seguente.
Impo󰘵azione del giradischi:
girare a sini󰘵ra o a de󰘵ra
per regolare la velocità con
precisione.
Spia luminosa della funzione
USB.
Spia abbinamento Bluetooth
Ta󰘵o di avvio e arre󰘵o
regi󰘵razione.
Alzare il volume.
Abbassare il volume.
In modalità giradischi: velocità 45 giri;
In modalità USB: Riproduzione/Pausa;
In modalità Bluetooth: pulsante di
riabbinamento.
In modalità giradischi: velocità
33 giri; In modalità USB: brano
precedente.
Premere per accendere e scegliere
la modalità, tenere premuto per
spegnere.

Related product manuals