EasyManua.ls Logo

Time Electronics 1044 - Operation of the 1044; CONTROLS

Time Electronics 1044
54 pages
Print Icon
To Next Page IconTo Next Page
To Next Page IconTo Next Page
To Previous Page IconTo Previous Page
To Previous Page IconTo Previous Page
Loading...
6
3 - Operation of the 1044
CONTROLS
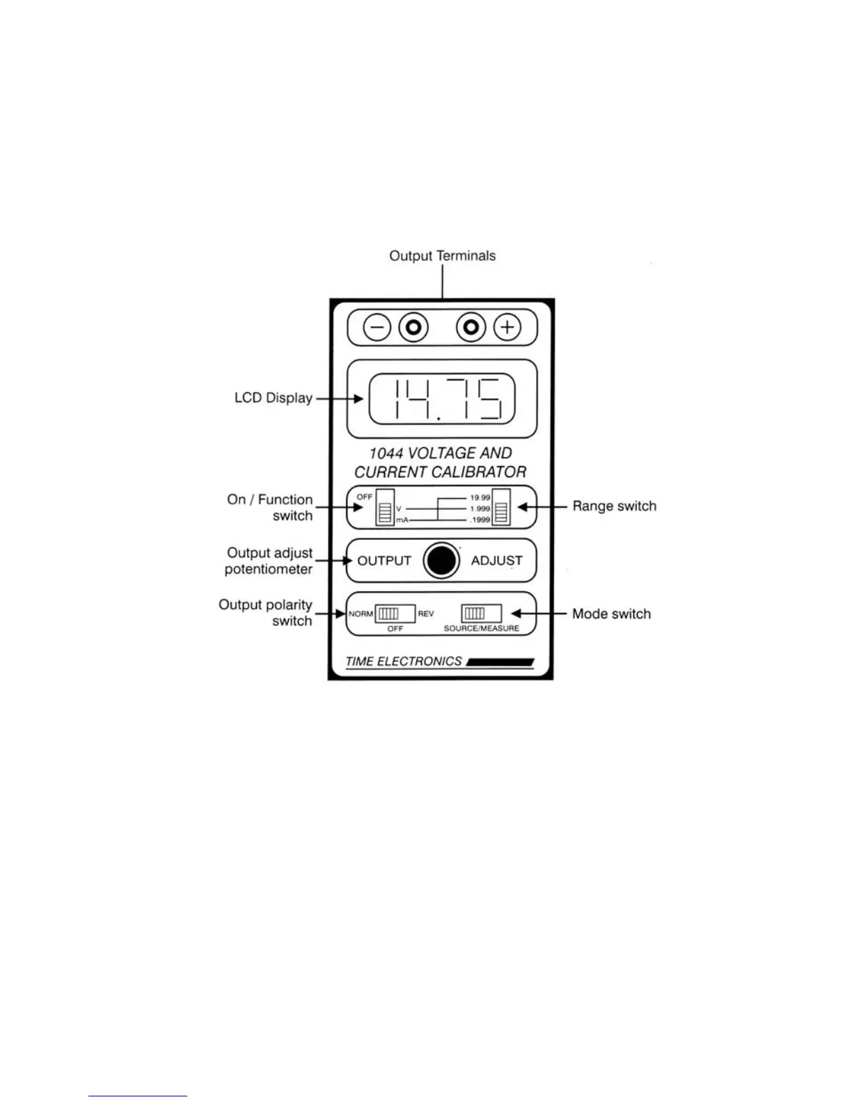
All the operator controls are located on the front panel with calibration
adjustments located inside the unit along with the input/output protec-
tion fuse. Refer to the Fault Diagnosis section for more information.