EasyManua.ls Logo

TIPTEL Ergophone 12 - Page 7

TIPTEL Ergophone 12
20 pages
Print Icon
To Next Page IconTo Next Page
To Next Page IconTo Next Page
To Previous Page IconTo Previous Page
To Previous Page IconTo Previous Page
Loading...
Service
7
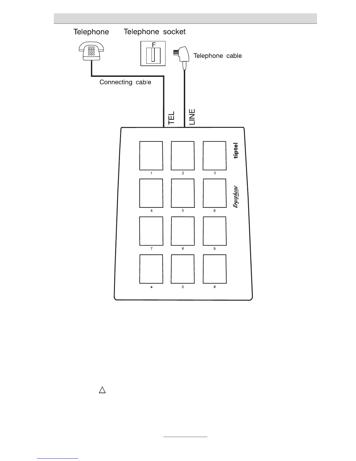
This is on the assumption that the telephone's connections are
a normal pair of telephone cable connections. This is the case if
the telephone complies with regulations TBR21 or ETSI ES 203
021. In the event that the "earth" and "alarm" contacts are used
on your telephone socket, you must only use a two-core tele-
phone cable.
Alternatively, you may insert the dialler as an accessory unit into the
"N" jack or "
" (Austria). Please use a standard plug adaptor (not in-
cluded in the scope of delivery).

Related product manuals