EasyManua.ls Logo

Toa HY-VM7B - Mounting the Speaker to a Ceiling (Using the Optional HY-C0801 or HY-C0801 W Bracket)

Toa HY-VM7B
12 pages
Print Icon
To Next Page IconTo Next Page
To Next Page IconTo Next Page
To Previous Page IconTo Previous Page
To Previous Page IconTo Previous Page
Loading...
6
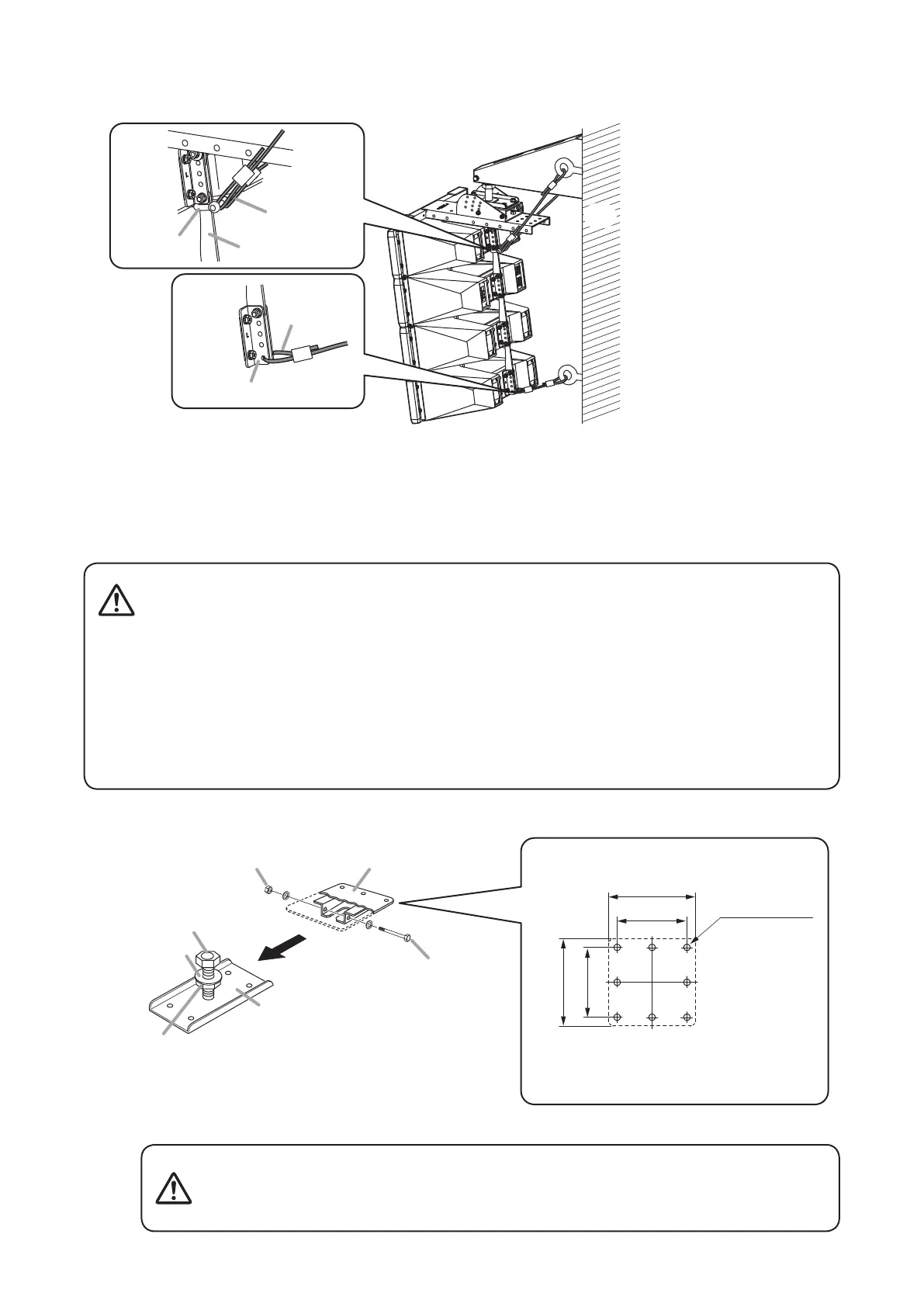
Step 11. Mountthesafetywiresandstopperwire.
Forthesafetywiremountingmethod,refertotheoperatinginstructionssuppliedwiththeHX-7Bor
HX-7Wspeaker.
Wall
Safety wire
Stopper wire
Rear bracket
Note
Secure the safety wire to beams,
pillars or other strong structures.
Rear angle bar
Shackle
Note: Mount to the rear bracket's idle hole.
4. MOUNTING THE SPEAKER TO A CEILING
(using the optional HY-C0801 or HY-C0801W bracket)
MountasingleHX-7BorHX-7WSpeakerSystemtoaceilingbyusingtheHY-VM7incombinationwiththe
optionalHY-C0801orHY-C0801WSpeakerCeilingMountingBracket.
Step 2. MountBracketAoftheHY-C0801orHY-C0801Wtoaceilingusingfourormorebolts.
Step 1. RemovethesafetyboltfromBracketAoftheHY-C0801orHY-C0801W,anddetachBracketB.
• Joined HX-7B or HX-7W speakers cannot be suspended from the
ceiling using either the HY-C0801 or HY-C0801W brackets. Failure
to observe this caution could result in a speaker falling, potentially
causingpersonalinjury.
• Tightentheboltssecurely,asinstructedbelow.
Failuretofollowinstructionspreciselycouldresultinafallingspeaker
andpotentialpersonalinjury.
· Ensurethatallboltsaresecurelyinsertedasfarastheirthreadsgo,
then securely fasten each bolt with a nut.
· Tightenalltheboltswiththedesignatedtighteningtorque.
Fortightening,useaPhillipsscrewdriver,oropen-orbox-endwrench.
WARNING
Ceilingmountingboltsandnutsarenotsupplied.
Usenutsandboltsthatareappropriatefortheceiling’sstructure
andcomposition.Failuretodosomaycausethespeakertofall,
resultinginpersonalinjury.
WARNING
Nut for M8
Safety bolt
Fixed nut
HY-C0801 or HY-C0801W
(Bracket B)
HY-C0801 or HY-C0801W
(Bracket A)
150 (5.91")
120 (4.72")
8 - ø11 (0.43")
Unit: mm
150 (5.91")
120 (4.72")
[Bracket A's mounting dimensions]
Horizontal angle
adjustment nut
Plain washer
Note
Be sure to use 4 mounting holes at 4
corners in Bracket A.

Related product manuals