EasyManua.ls Logo

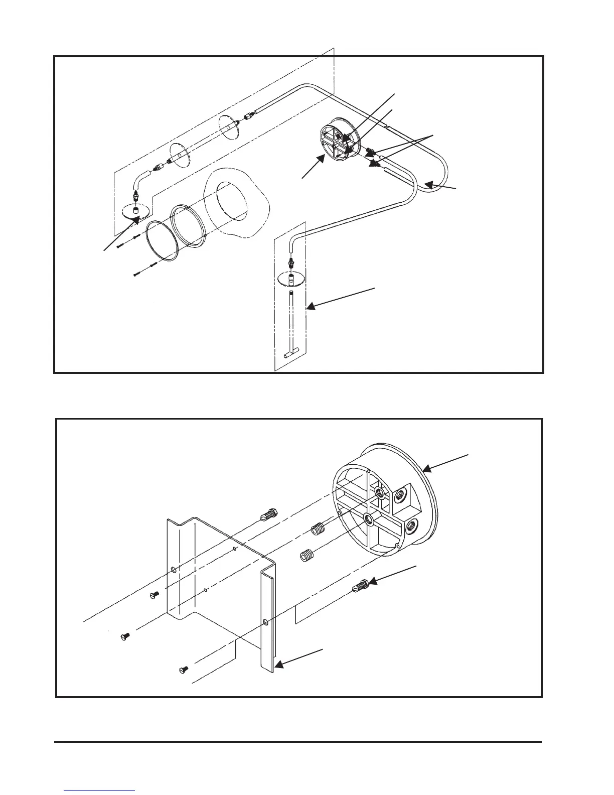
Torit Downflo SDF-6 - Figure 30 Magnehelic Gage; Figure 31 - Remote-Mounted Magnehelic Gage

Default Icon
54 pages
Print Icon
To Next Page IconTo Next Page
To Next Page IconTo Next Page
To Previous Page IconTo Previous Page
To Previous Page IconTo Previous Page
Loading...
32
Donaldson Company, Inc. © 1995
Figure 31
Remote-Mounted Magnehelic Gage
Magnehelic
Gage
Screw Self-Drilling
Mounting Panel
Figure 30
Magnehelic Gage
Plastic Tubing
Tubing Male Adapters
1/8" NPT
Low Pressure Port (Ref)
High Pressure Port (Ref)
Dirty Air Plenum
Clean Air Plenum
Magnehelic
Gage

Table of Contents

Related product manuals