EasyManua.ls Logo

Trane CCAF - Page 41

Trane CCAF
100 pages
Print Icon
To Next Page IconTo Next Page
To Next Page IconTo Next Page
To Previous Page IconTo Previous Page
To Previous Page IconTo Previous Page
Loading...
CGWF-SVX01A-EN 41
Installation Mechanical
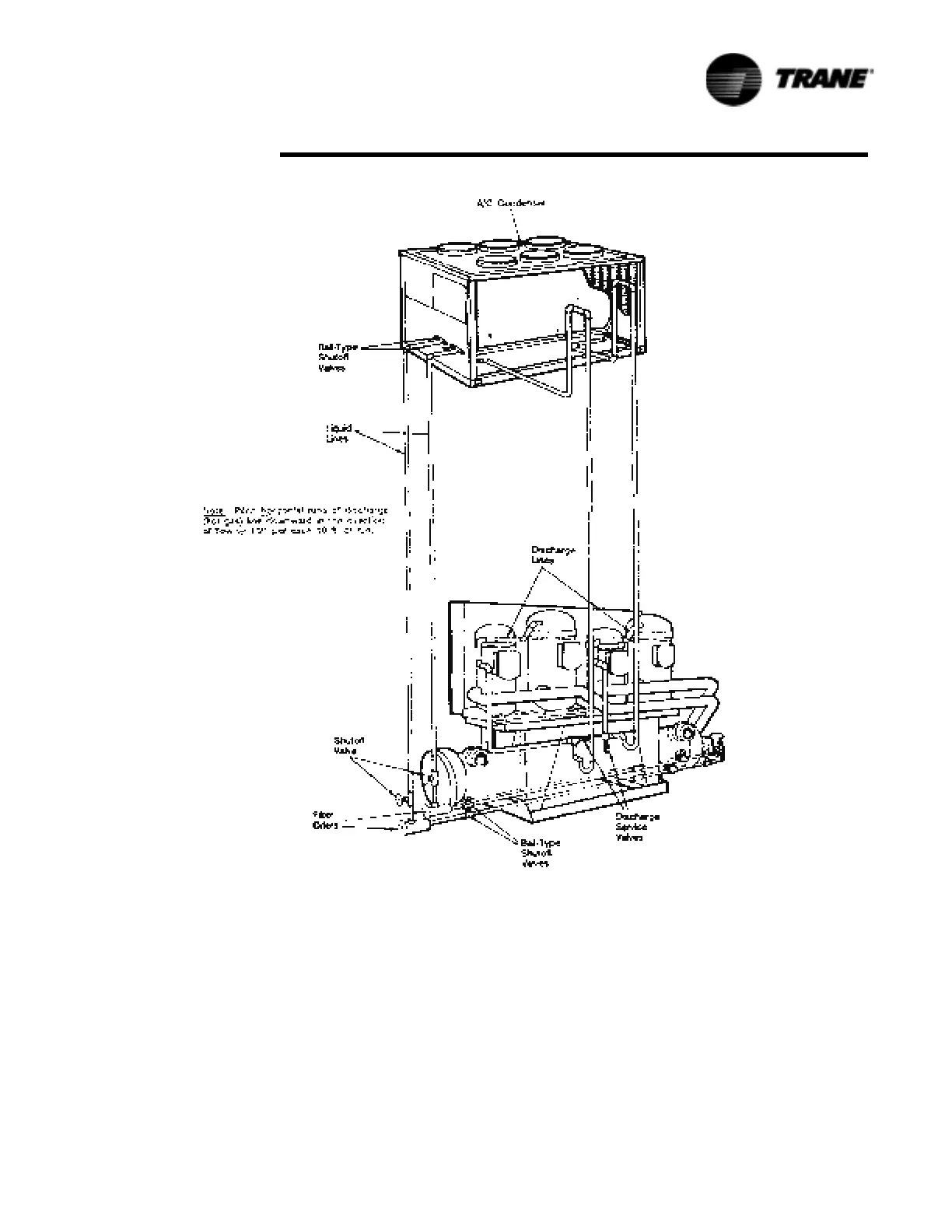
Figure 17 Refrigerant piping Configuration of Typical Dual-Circuit CCAF Unit

Table of Contents

Other manuals for Trane CCAF

Related product manuals