EasyManua.ls Logo

Trane CGWF - Page 25

Trane CGWF
100 pages
Print Icon
To Next Page IconTo Next Page
To Next Page IconTo Next Page
To Previous Page IconTo Previous Page
To Previous Page IconTo Previous Page
Loading...
CGWF-SVX01A-EN 25
Installation Mechanical
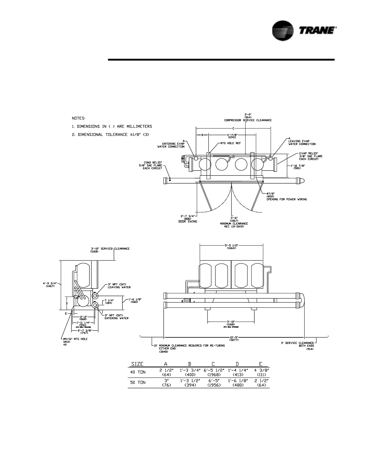
Figure 8 CGWF 40 and 50 Ton Unit Dimensions, Recommended Clearances, Mounting Locations,
Electrical, Water Connection Size and Locations

Table of Contents

Related product manuals