EasyManua.ls Logo

Trane RAUC-C60 - Page 17

Trane RAUC-C60
112 pages
Print Icon
To Next Page IconTo Next Page
To Next Page IconTo Next Page
To Previous Page IconTo Previous Page
To Previous Page IconTo Previous Page
Loading...
SS-SVX09A-EN 17
Installation
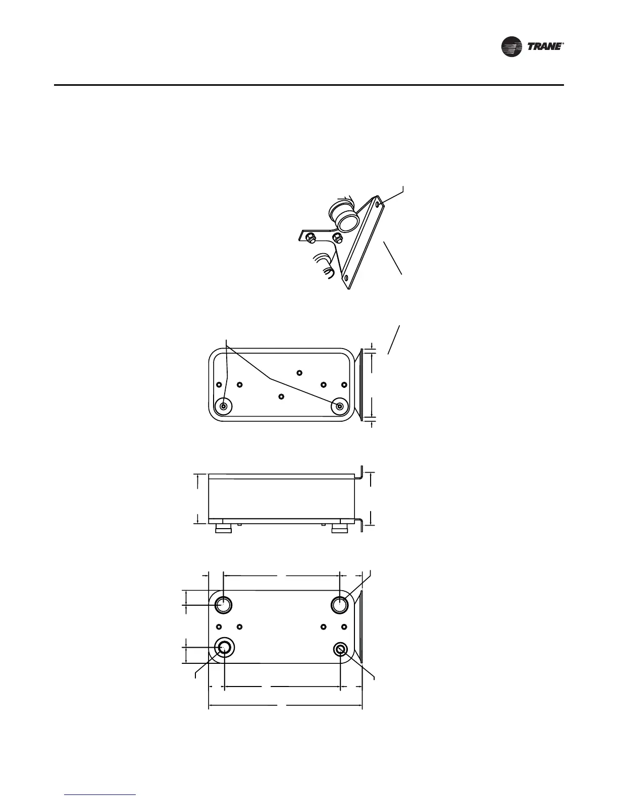
Note: All water connections are Victaulic.
Figure 10. BPHE 25 Evaporator Chiller Dimensions
7.994
8.084
17.670
6.440
3.331
2.431
23.432
1.130 ID
2.431
2.261
17.720
2.261
3.451
SUCTION
LIQUID
ENTERING
WATER
LEAVING
WATER
2X Ø2.00
2.138 Ø ID
SWAGELOK
B-4-P
1/4" NPT
MALE
PIPE
PLUG
OR
EQUIVELENT
FIELD
PROVIDED
Evaporator mounting brackets
and insulation are provided
with Chiller BPHE Accessory
for field installation - Field
provided vinyl tape is required
to seal insulation edges after
installation.
9.760
.625
.625
FRONT
VIEW
W/INSULATION
RIGHT
VIEW
W/INSULATION
REAR
VIEW
W/INSULATION
MOUNTING
BRACKET x 2
Ø.562 X 2 Each Bracket

Table of Contents

Related product manuals