EasyManua.ls Logo

Trane RAUC-C60 - Page 20

Trane RAUC-C60
112 pages
Print Icon
To Next Page IconTo Next Page
To Next Page IconTo Next Page
To Previous Page IconTo Previous Page
To Previous Page IconTo Previous Page
Loading...
20 SS-SVX09A-EN
Installation
Note: All water connections are Victaulic.
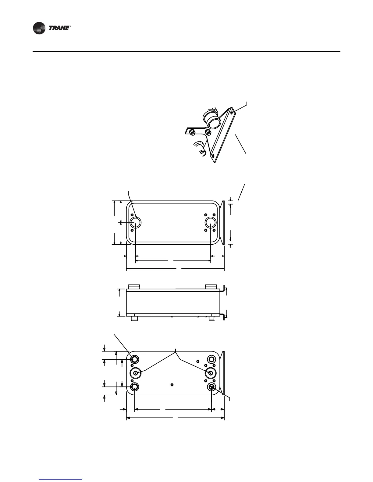
Figure 13. BPHE 50 Evaporator Chiller Dimensions
3.960
23.780
2.551
30.292
13.533
2.517
2.517
8.500
6.766
6.767
13.533
30.292
2.827
4.235
23.230
1.380 ID X 2
8.872
9.096
SUCTION
CIR
#1
LIQUID
CIR
#1
SUCTION
CIR
#2
LIQUID
CIR
#2
2.138 Ø ID X 2
ENTERING
WATER
LEAVING
WATER
Ø 3.00 X 2
SWAGELOK
B-4-P
1/4"
NPT
MALE
PIPE
PLUG
OR
EQUIVALENT
FIELD
PROVIDED
Evaporator mounting
brackets and insulation are
provided with Chiller
BPHE Accessory for field
installation - Field provided
vinyl tape is required to
seal insulation edges after
installation.
FRONT
VIEW
W/INSULATION
RIGHT
VIEW
W/INSULATION
REAR
VIEW
W/INSULATION
MOUNTING
BRACKET
x 2
Ø.562 X 2 Each Bracket
11.420
1.020
1.020

Table of Contents

Related product manuals