EasyManua.ls Logo

Trane TCONT724AS42DAA - Page 26

Trane TCONT724AS42DAA
40 pages
Print Icon
To Next Page IconTo Next Page
To Next Page IconTo Next Page
To Previous Page IconTo Previous Page
To Previous Page IconTo Previous Page
Loading...
26
18-HD82D1-1B-EN
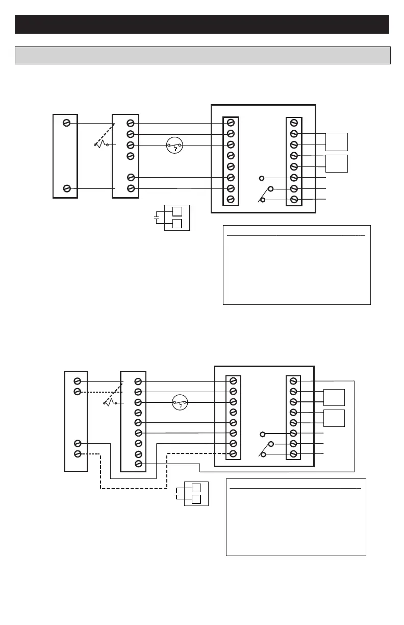
Non-VS
Oil Furnace
Heat/Cool Diagram 13: 1 Stage Cooling w/non-Variable Speed Oil Furnace
G
W1
Y
R
B/C
W2
One Stage
Cooling Only
Y
B
Notes:
1. BT (Bonnet Thermostat) model THT1248
required for dual fuel, oil furnace applications.
2. Field supplied relay (R1) required for oil burner primary
Sensor Options in the Installer Settings/Sensor Settings menu
Remote Sensor (connect to the RS terminals)
- None
- Replaces internal sensor
- Average with internal sensor
Outdoor Sensor (connect to the ODT terminals)
- None
- Outdoor
Caution: Do not run sensor wires in the same bundle with HVAC
wires. Keep away from high voltage wiring to avoid interference.
Remote Temperature Sensor Connections and Operation:
BT
Aux relay
outputs
RS
C
RS
R
ODT
W1
W2
BK
ODT
NO
C
Y1
NC
Y2
O/B
G
Thermostat Connection
Outdoor
Sensor
Remote
Sensor
T
T
R1
Oil Burner Primary
R1
(Note 1)
(Note 2)
(Note 2)
Heat/Cool Wiring Diagrams
Variable Speed
Oil Furnace
Heat/Cool Diagram 14: 1 or 2 Stage Cooling w/Variable Speed Oil Furnace
G
W1
Y1
R
B/C
Y2
BK
W2
One or Two Stage
Cooling Only
Y 1
R
B
Y2
Notes:
1. Cut/remove the factory installed “BK” jumper at the indoor unit
2. “Y2” & “R” connections at outdoor unit are only required for 2
stage systems
3. For non-Trane/American Standard Indoor units “BK” is not
connected and “Y1”/”Y2” must be connected at indoor unit.
4. BT (Bonnet Thermostat) model THT1248)
required for dual fuel, oil furnace applications
5. Field supplied relay (R1) required for oil burner primary
Sensor Options in the Installer Settings/Sensor Settings menu
Remote Sensor (connect to the RS terminals)
- None
- Replaces internal sensor
- Average with internal sensor
Outdoor Temp Sensor (connect to the ODT terminals)
- None
- Outdoor
Caution: Do not run sensor wires in the same bundle with HVAC
wires. Keep away from high voltage wiring to avoid interference.
Remote Temperature Sensor Connections and Operation:
(Note 2)
(Note 2)
(Note 1)
(Note 3)
Aux relay
outputs
RS
C
RS
R
ODT
W1
W2
BK
ODT
NO
C
Y1
NC
Y2
O/B
G
Thermostat Connection
Outdoor
Sensor
Remote
Sensor
O
BT
(Note 4)
T
T
R1
Oil Burner Primary
(Note 5)
R1
(Note 5)
XR724 INSTALLER’S GUIDE

Related product manuals