EasyManua.ls Logo

Trane *UH2B060A9V3VA - Page 37

Trane *UH2B060A9V3VA
46 pages
Print Icon
To Next Page IconTo Next Page
To Next Page IconTo Next Page
To Previous Page IconTo Previous Page
To Previous Page IconTo Previous Page
Loading...
18-CD26D1-10 37
Installer’s Guide
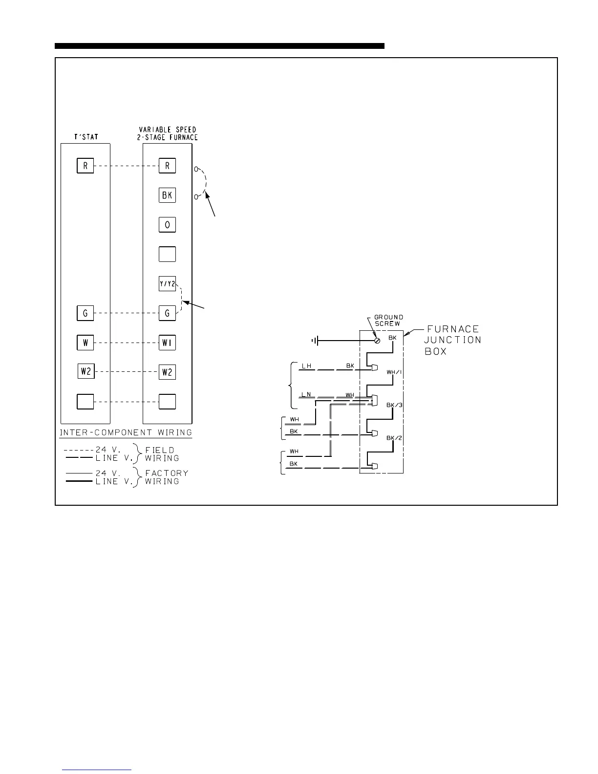
1. Be sure power agrees with equipment nameplates.
2. Low voltage (24 volt wiring) to be No. 18 A.W.G. min.
3. Grounding of equipment must comply with local codes.
4. Set thermostat heat anticipator per unit wiring diagram.
5. These leads provide 115V. power for connection of electronic
air cleaner and humidifier MAX. load 1.0 amps each.
6. This wire is only for thermostats requiring connection to
transformer common terminal.
7. Continuous fan airflow can be increased by adding this jumper.
8. Set dip switches with power off per installation instructions
to set airflow and indoor fan off delays.
9. Optional humidistat is to be connected between R and BK. Factory
installed jumper R to BK on the circuit board must be cut if optional
humidistat is used. The jumper must also be cut when applying an airflow
command signal to the BK input such as with the variable speed single-zone
and multi-zone system controllers. On single speed cooling only/non-heat pump
systems, jumper Y to O for proper operation of the delay profiles and the humidista
t.
For two compressor or two speed systems, jumper YLo to O.
W14
SEE
NOTE 6
From Dwg. B342025 Rev. 0
Y1/Ylo
W14 JUMPER
SEE NOTE 9
SEE
NOTE 7
B/C
B/C
TO 115 V 1 PH.,
60 HZ., POWER
SUPPLY PER
LOCAL CODES
HUM SEE
NOTE 5
EAC SEE
NOTE 5
FIELD WIRING DIAGRAM FOR VARIABLE SPEED 2 STAGE FURNACE
2 STAGE HEATING
USING A 2 STAGE HEATING THERMOSTAT
NO COOLING
Figure 61

Other manuals for Trane *UH2B060A9V3VA

Related product manuals