EasyManua.ls Logo

Tripp Lite SRCOOL12K - Page 25

Tripp Lite SRCOOL12K
40 pages
Print Icon
To Next Page IconTo Next Page
To Next Page IconTo Next Page
To Previous Page IconTo Previous Page
To Previous Page IconTo Previous Page
Loading...
1
2
1
2
1
2
1
2
1
2
2-3
2-4
3-1
3-2
A
A
A
B
B
B
25
2-3
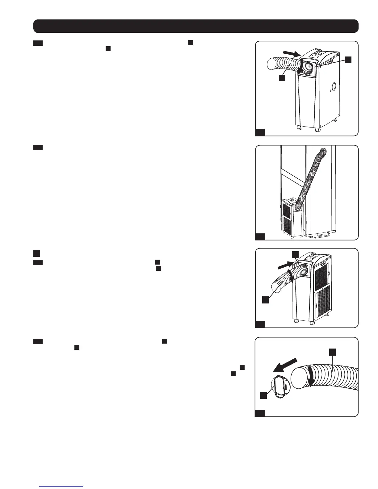
Connectez le conduit de refroidissement flexible (du tuyau court
A
) à l’adaptateur du
conduit de refroidissement
B
. Alignez le conduit avec l’ouverture circulaire de l’adaptateur,
poussez le conduit vers le haut et tournez le conduit dans le sens des aiguilles d’une
montre jusqu’à ce qu’il soit vissé solidement en place dans l’adaptateur.
Installation (suite)
2-4
Placezl’autreextrémitéduconduitderefroidissementprèsdel’admissiond’airdu
dispositif ou de l’armoire de bâti ciblé(e), en utilisant le cheminement le plus direct et le
plus court disponible. Si vous planifiez de refroidir une armoire de bâti, placez l’extrémité
du conduit de refroidissement sur une surface perforée près de la partie supérieure de la
porte avant de l’armoire (ou près de la partie supérieure du banc de l’équipement devant
êtrerefroidit.L’airfroiddescendraetserépandraàtraverslesentréesd’airàl’avantde
l’armoire de bâti.
3
Connexion du conduit d’évacuation
3-1
Connectez le conduit d’évacuation flexible (tuyau
A
le plus long) à l’évent d’évacuation
de l’air chaud sur le panneau arrière de l’appareil
B
. Alignez le conduit avec l’ouverture
circulaire de l’évent, poussez le conduit vers l’intérieur et tournez le conduit dans le sens
des aiguilles d’une montre jusqu’à ce qu’il soit vissé solidement en place dans l’évent
d’évacuation.
3-2
Connectez l’autre extrémité du conduit d’évacuation
A
à l’adaptateur du conduit
d’évacuation
B
. Alignez le conduit avec l’ouverture circulaire de l’adaptateur, poussez
le conduit vers l’intérieur et tournez le conduit dans le sens des aiguilles d’une montre
jusqu’à ce qu’il soit vissé solidement en place dans l’adaptateur.
Sivousprévoyezconnecterleconduitd’évacuationàunfaux-plafond,passezàl’étape
4
.
Sivousprévoyezconnecterleconduitd’évacuationàunefenêtre,passezàl’étape
5
.

Other manuals for Tripp Lite SRCOOL12K

Related product manuals