EasyManua.ls Logo

Ultimate TA4600 - Page 47

Ultimate TA4600
50 pages
Print Icon
To Next Page IconTo Next Page
To Next Page IconTo Next Page
To Previous Page IconTo Previous Page
To Previous Page IconTo Previous Page
Loading...
45
FUSEFUSE
15A15A
15A
PROTECCIÓN CON FUSIBLES- Un fusible fundido indica un
problema que debería corregirse antes de reemplazar el fusible.
Reemplácelo siempre por fusibles del mismo valor. No lo
sustituya nunca por un fusible de un valor mayor.
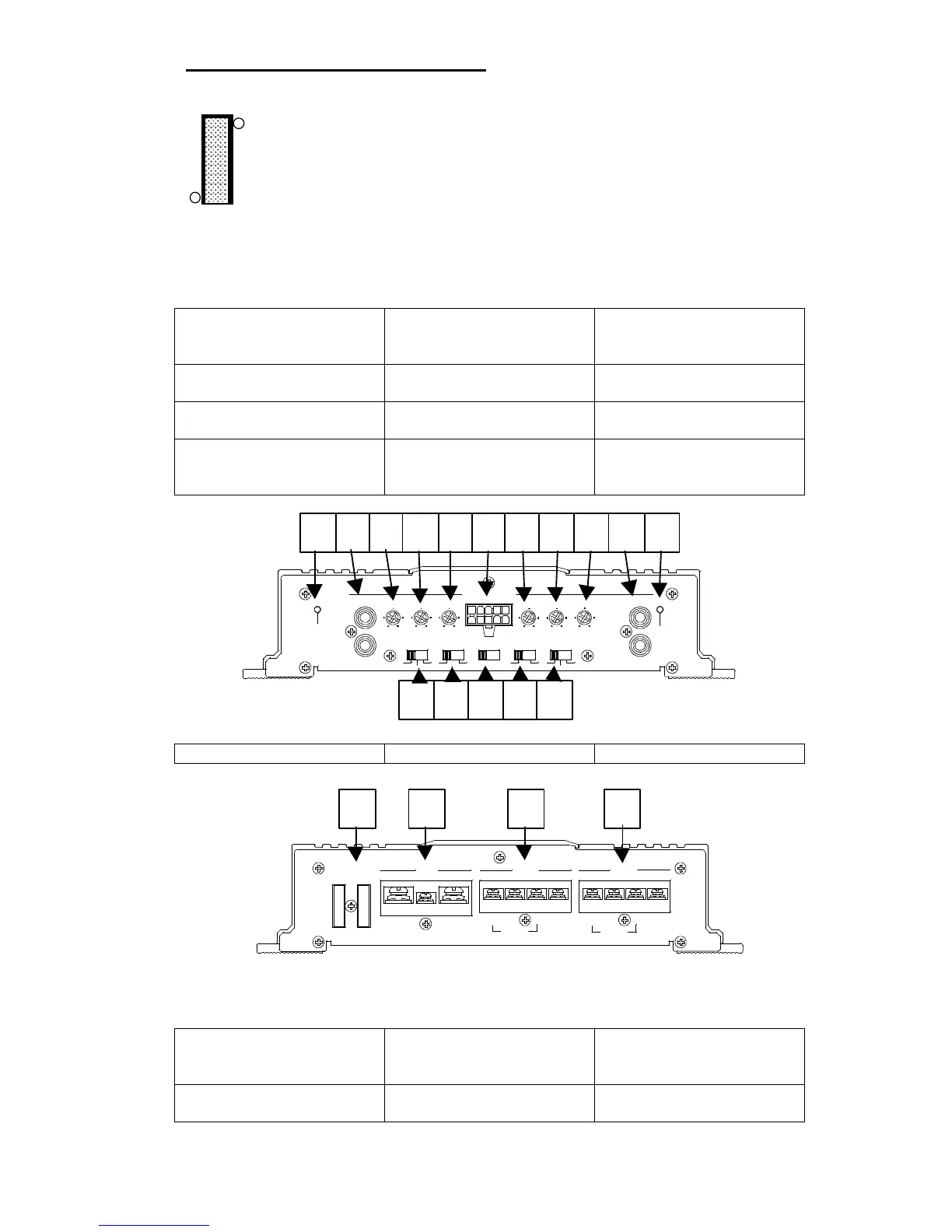
2.4 Funcionamiento- Localización de los
terminales, controles e indicadores luminosos
TA4600, TA4320TA4600, TA4320
1. Clavijas de entrada RCA 2. Conexiones de entrada de
amplificador de la salida del
radio
3. Ajuste del nivel de entrada
4. Selección de cruce 5. Ajuste la frecuencia paso
bajo
6. Ajuste la frecuencia paso
alto
7. El bajo commutador 8. Modo 2, 3, 4 canales 9. Indicador luminoso de
encendido
10. Indicador luminoso de
protección
1. Terminales de potencia 2. Fusible(s) Terminales del altavoz
TA2300, TA2160-TA2300, TA2160-
1. Clavijas de entrada RCA 2. Conexiones de entrada de
amplificador de la salida del
radio
3. Ajuste del nivel de entrada
4. El bajo commutador 5. Ajuste la frecuencia paso
bajo
6. Selección de cruce
FUSE
30A 30A
POWER SPEAKER SPEAKER
BRIDGED
BRIDGED
+12V
RMT GND ( A+ ) ( A- ) ( B- ) ( B+ )
( + ) ( - )
( C+ ) ( C- ) ( D- ) ( D+ )
( + ) ( - )
1 3 32
A/B CHANNELS
INPUT LEVEL HPF LPF
MIN MAX 40 240 40 240
A
B
X-OVER BASS-BOOST MODE
LPF
FULL
HPF
POWER
ON OFF
HIGH LEVEL
2CH 4CH3CH
BASS-BOOST
ON OFF
40 240
LPF HPF
40 240
X-OVER
LPF
FULL
HPF
LEVEL
MIN MAX
INPUT
PROTECT
C
D
C/D CHANNEL
4 7 8
1 23 569 105 6 3 1
7 4

Related product manuals