EasyManua.ls Logo

UNI EV Series - Page 13

Default Icon
21 pages
Print Icon
To Next Page IconTo Next Page
To Next Page IconTo Next Page
To Previous Page IconTo Previous Page
To Previous Page IconTo Previous Page
Loading...
Operating and mounting manual (translation)
EV / EVF
_______________________________________________________________________________________________________
220.100.091-05 Page 13 /21 Version: 06/2017
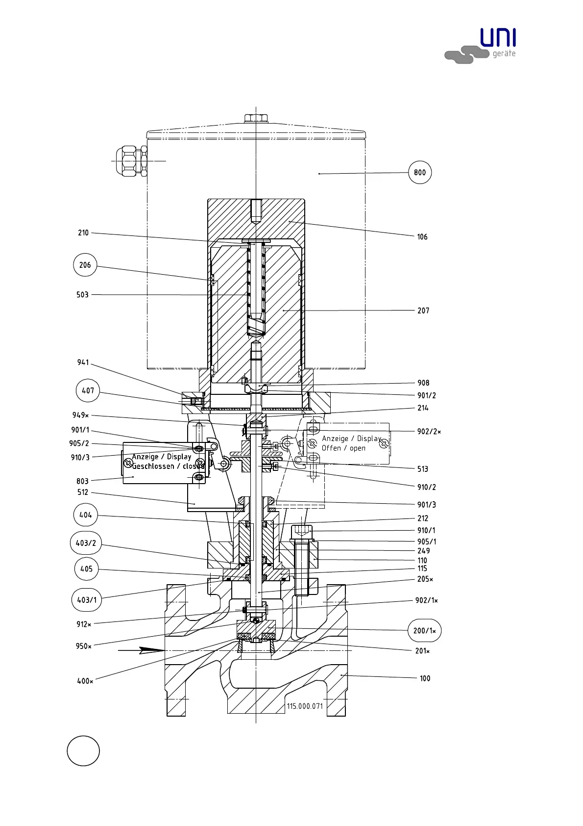
TM 4474
Fig. 2 5/10/25/40-EV …NÜ…
= Spare Parts