EasyManua.ls Logo

Unibor COMMANDO 35 - Machine Wiring Diagram

Unibor COMMANDO 35
18 pages
Print Icon
To Next Page IconTo Next Page
To Next Page IconTo Next Page
To Previous Page IconTo Previous Page
To Previous Page IconTo Previous Page
Loading...
Unibor COMMANDO 35 Manual Original instructions 2019
9
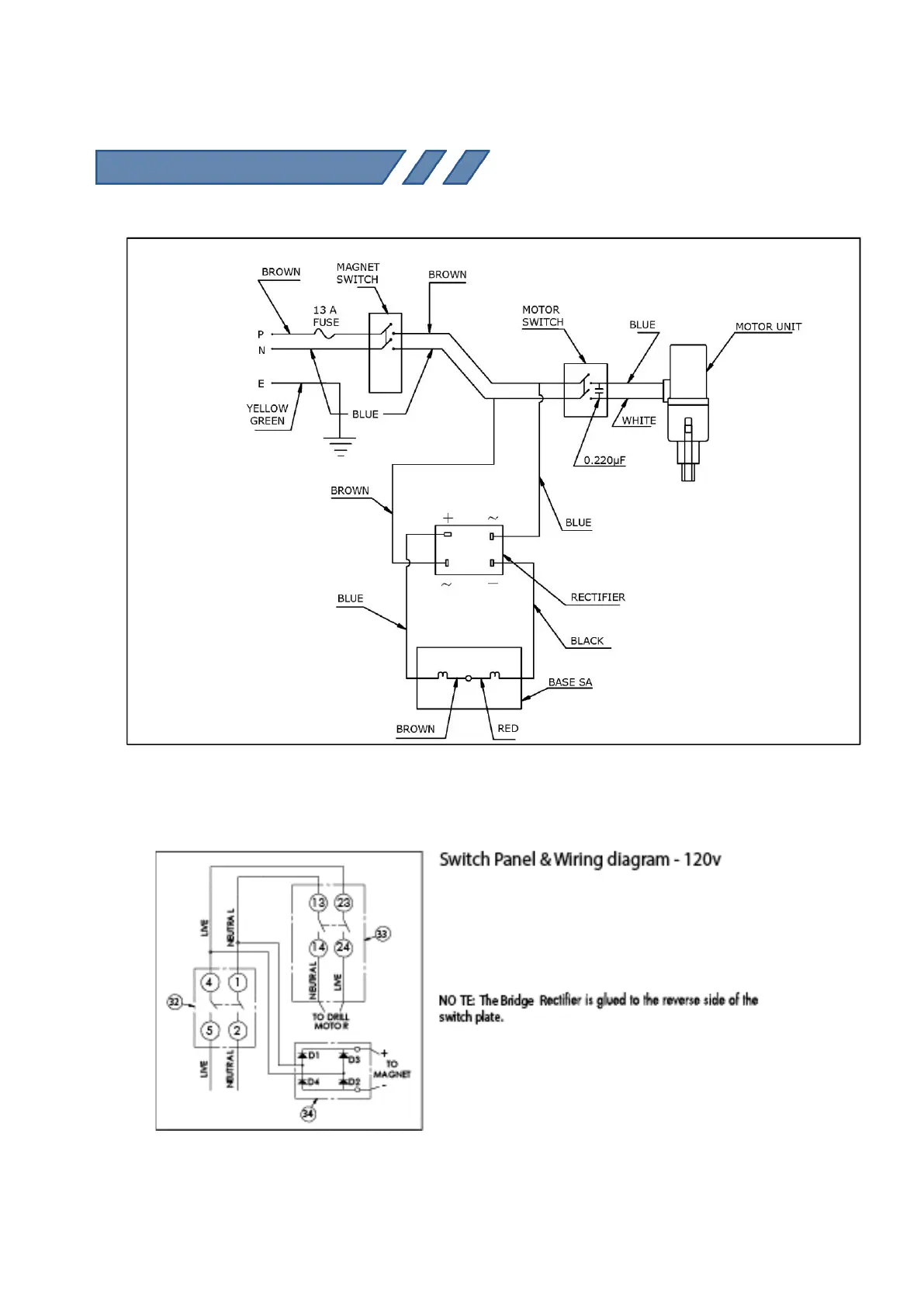
10) WIRING DIAGRAM

Related product manuals