EasyManua.ls Logo

UniCarriers FD30 Series - Page 32

Default Icon
161 pages
Print Icon
To Next Page IconTo Next Page
To Next Page IconTo Next Page
To Previous Page IconTo Previous Page
To Previous Page IconTo Previous Page
Loading...
Do not lift off-centered loads
Make sure that the loads are evenly positioned
across the forks and that the load’s center of gravity
is aligned with the truck’s center of gravity. Off-
centered loads might cause the truck to turn over.
Keep the chains tight
A slack chain means a mast rail or carriage hang-
up, which might cause the sudden fall of loads or
carriage or the truck to tip over. Keep the lift chains
stretched tight at all time.
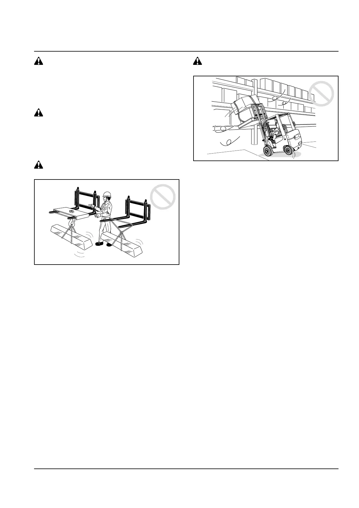
Do not hang loads with wire ropes
attached directly on the forks:
Do not hang loads with wire ropes attached
directly on the forks or attachment. If the wire
ropes break or slide off, a personal injury might
result. In particular, the use of a wire rope hung
on one of the forks might cause the truck to turn
over.
Use a hook attachment or crane arm attachment
to hang loads.
Make sure that the wire ropes are strong enough
to withstand the weight of the load and properly
attached. The length of the ropes should be as
short as possible but with adequate spread angle
between legs.
Carefully travel and turn when hanging a load
with wire ropes; otherwise, if the load swings, the
truck might turn over. Keep the load as low as
possible.
A strong wind might cause loads to spill
or the truck to tip over
Loads might spill or the truck could tip over due
to a strong wind. In particular, the risk of such an
accident increases when the loads are raised high.
Stop the operation or take necessary measures
when a strong wind is blowing.
1-27
LOAD HANDLING

Table of Contents

Related product manuals