EasyManua.ls Logo

Unitronics V350-35-RA22 - I;O Wiring; npn (sink) Input Wiring; pnp (source) Input Wiring; Shaft-Encoder Wiring

Unitronics V350-35-RA22
14 pages
Print Icon
To Next Page IconTo Next Page
To Next Page IconTo Next Page
To Previous Page IconTo Previous Page
To Previous Page IconTo Previous Page
Loading...
Vision™ OPLC™
Unitronics 7
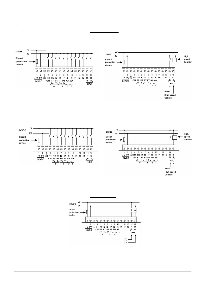
I/O Wiring
npn (sink) Input
Input wiring
HSC input wiring
pnp (source) Input
Input wiring HSC input wiring
Shaft-encoder

Related product manuals