EasyManua.ls Logo

Universal E-40 - Page 12

Universal E-40
32 pages
Print Icon
To Next Page IconTo Next Page
To Next Page IconTo Next Page
To Previous Page IconTo Previous Page
To Previous Page IconTo Previous Page
Loading...
12
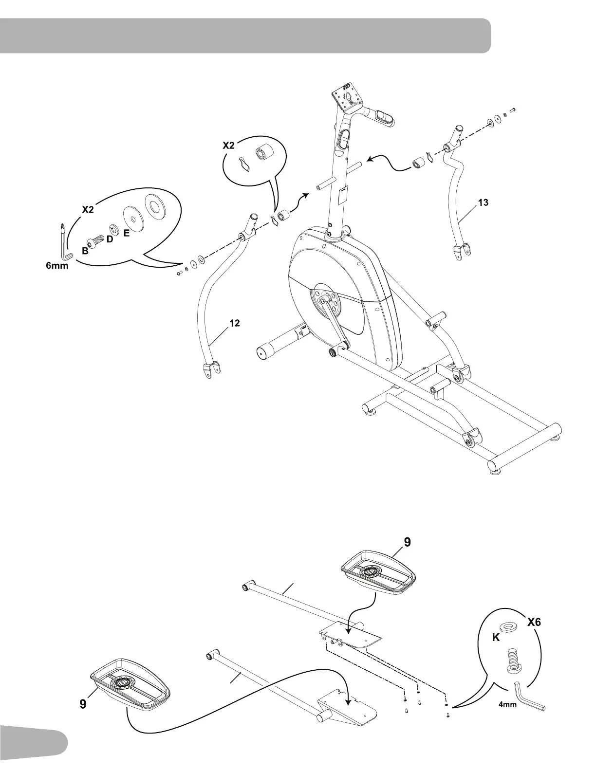
7. Attach Lower Handlebar Arms to Frame Assembly
8. Attach Pedals to Pedal Arms
H
I
J
11
10
L