EasyManua.ls Logo

Universal M-35A - Wiring Diagram

Default Icon
52 pages
Print Icon
To Next Page IconTo Next Page
To Next Page IconTo Next Page
To Previous Page IconTo Previous Page
To Previous Page IconTo Previous Page
Loading...
DC
ELECTRICAL
SYSTEM
WIRING
DIAGRAM
#31944
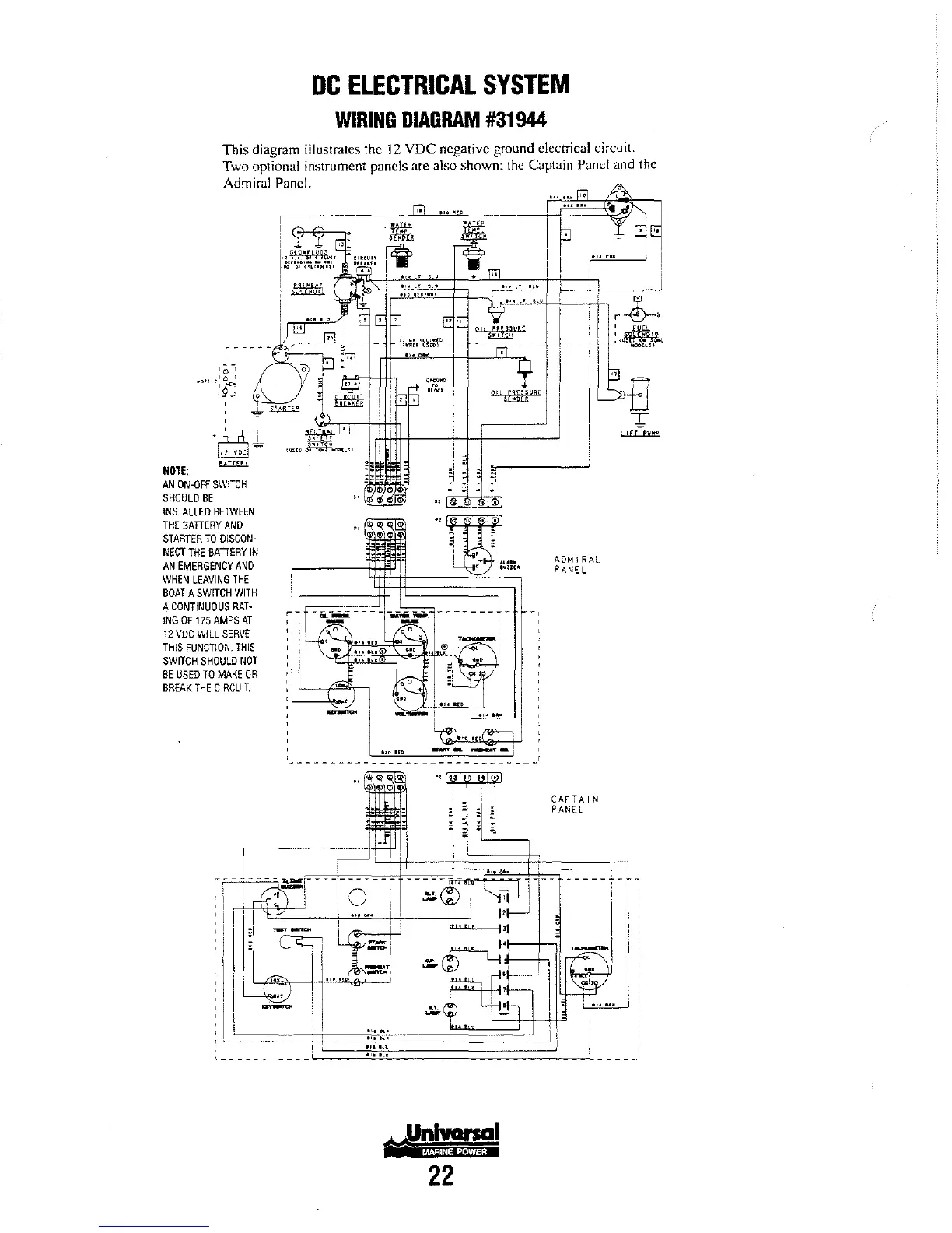
This
diagram illustrates the 12
VDC
negative ground electrical circuit.
Two
optional instrument panels are
also
shown:
the Captain Panel and the
Admiral
Panel.
NOTE;
AN
ON-OFF
SWITCH
SHOULD
BE
INSTALLED
BE1WEEN
THE
BATIERY
AND
STARTER
TO
DISCON-
NECT
THE
BATIERY
IN
AN
EMERGENCY
AND
WHEN
LEAVING
THE
BOAT
A
SWITCH
WITH
A
CONTINUOUS
RAT-
ING
OF
175
AMPS
AT
12
vae
WILL
SERVE
THIS
FUNCTION.
THIS
SWITCH
SHOULD
NOT
BE
USED
TO
MAKE
OR
BREAK
THE
CIRCUIT.
9'!
rlHi:iIlH
------------------------------
I
.1
"
~
11
~~
ADMIRAL
PANEL
CAPTAIN
PANEL
-------
:
I~
1~
____
~====1"
___
~g~
~ll
22

Table of Contents

Related product manuals