EasyManua.ls Logo

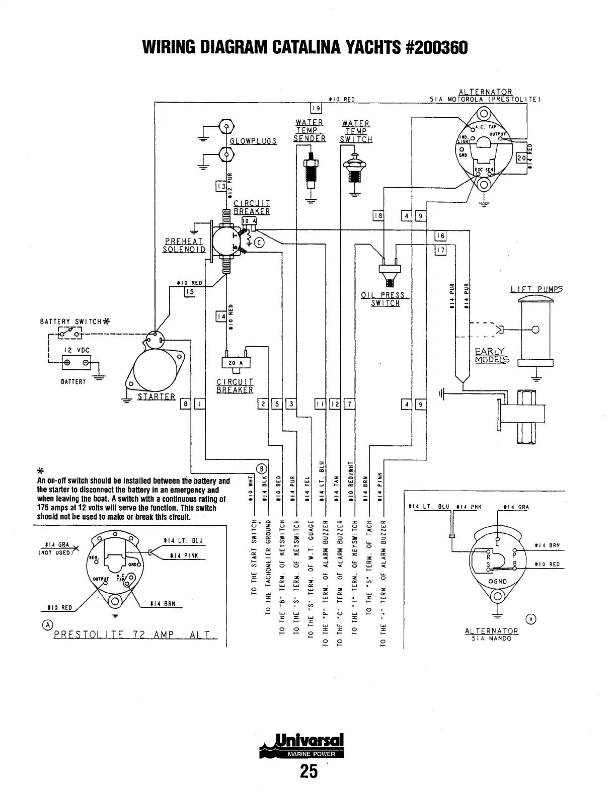
Universal M-35B - WIRING DIAGRAM CATALINA YACHTS #200360

Default Icon
54 pages
Print Icon
To Next Page IconTo Next Page
To Next Page IconTo Next Page
To Previous Page IconTo Previous Page
To Previous Page IconTo Previous Page
Loading...
WIRING
DIAGRAM
CATALINA
YACHTS
#200360
BATTERY
SWITCH*
r---,
r~-~----------
1
L_~
BATTERY
*
An
on-off
switch
should
be
installed
between
ttie
battery
and
the
starter
to
disconnect
the
battery
in
an
emergency
and
when
leaving
the
boat.
A
switch
with
a
continuous
rating
of
175
amps
at
12
volts
will
serve
the
function.
This
switch
should
not
be
used
to
make
or
break
this
circuit.
tl4
LT.
BLU
t14
GRA
<
!NOT
USED?(
114
PINK
110
RED
114
BRN
@PRESIOL
I
IE
72
AMP
ALI
110
RED
19
®
:::>
>-
.....
"'
"'
..
'
>-
"'
0
"'
.....
z 0
"
.....
...
:::>
...
>-
<C
...
"'
"'
Q,.
,...
.....
>-
"'
0
...
0
...
...
...
...
<>
..
;
..
..
..
;
..
.
:z:_o
:z:
:z:
l..o.J
""
""
:z:
u
:z
u u
<.!)
l..o.J
l..o.J
u
,__
::::>
,__
1-
...
N
N
,__
;;;
0
;;;
;;;
::::>
N N
""
<.!)
:::> :::>
..
<I)
"'
<I)
<I)
CD CD
<I)
,....
,....
....:
,....
I-
""
l..o.J
l..o.J
z z
l..o.J
""
...
"'
"'
,.;
""
""
"'
...
>-
...
...
,__
.....
.._
.._
--'
--'
.._
<I)
:::E
0 0
.._
...
...
0
0 0
...
:z:
%
%
.._
.._
%
:z:
u
%
0
0
,__
..,
""
""
""
,__
.....
.....
""
% %
.....
0
,__
,__
.....
,_
,__
.....
,__
"" ""
:z:
;.,
.....
.....
.
>-
<I)
:,
,__
,__
-
0
>-
.....
.....
Q_
u
.....
:z:
:z:
.....
:z:
,_
1-
:z:
,__
,__
.....
.....
0 0
:z:
:z:
~
,__
1-
0
,_
,__
,__
~
0
,_
4
,..Unlvarsal
MARINE POWER
25
OIL
PRESS
ID.EH.
"'
z z
"'
;;:
"'
...
...
.. ..
:z:
""
u
.....
...
N
,__
N
:::>
.._
cc
0
:z
%
""
...
""
--'
...
<(
,__
"-
0
<I)
:::E
.....
""
:z:
.....
I-
>-
0
,__
+
.....
:z:
,__
2
......
...
#14
GRA
ALTERNATOR
51 A
MAN
DO
t14
BRN
#10
RED

Related product manuals