EasyManua.ls Logo

urmet domus Audio Two - Page 13

urmet domus Audio Two
24 pages
Print Icon
To Next Page IconTo Next Page
To Next Page IconTo Next Page
To Previous Page IconTo Previous Page
To Previous Page IconTo Previous Page
Loading...
sec.5
−−−−
13
ONE-FAMILY AND TWO-FAMILY KITS
DOOR PHONE AND VIDEO DOOR PHONE SYSTEM: Product Technical Manual
A)
B)
R=120 ohm
1/4W
(VX.030)
FROM SYSTEM
FROM SYSTEM
CA
1
2
6
10
9
R2
R1
~~
R2
in
out
A
A
CA
L
L
2
AP
R1
1
V3 AI
+M
2
1
X2
CA
6
RD
R1
R1
9
X1
V5
V3
V4
A
A
CA
L
L
2
AP
R1
1
V3 AI
+M
POWER SUPPLY
Ref.789/2
LINE~
BASIC
VIDEO DOOR PHONE
BASIC
VIDEO DOOR PHONE
Secondary
VIDEO DOOR PHONE
Mod.Atlantico
Ref.1702/1 (black/white) or
Ref.1702/40 (colour) +
BRACKET Ref.1202/90
DOOR PHONE
Mod.Atlantico
Ref.1133
SV102-3218
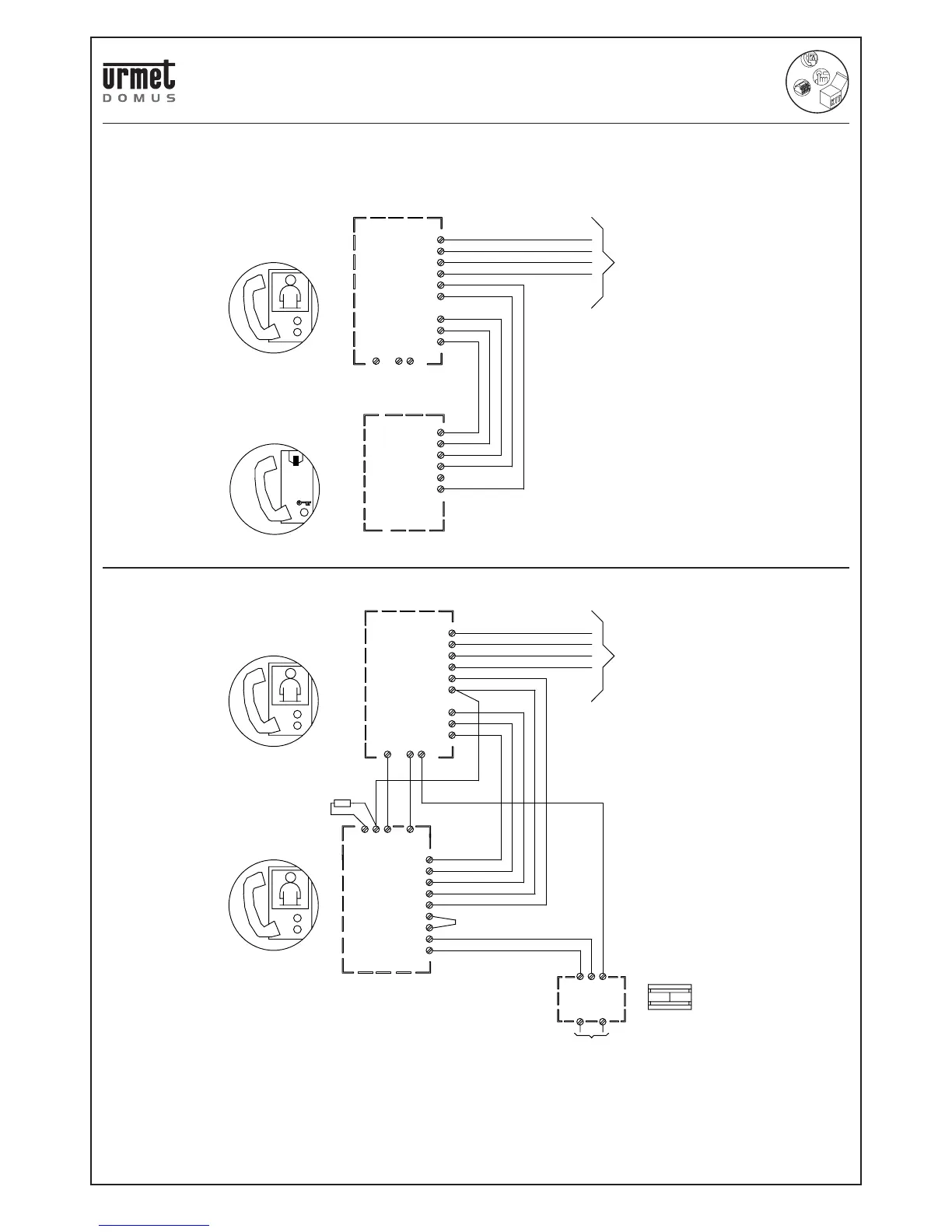
ONE DOOR PHONE Ref. 1133 CONNECTION IN PARALLEL TO
THE VIDEO DOOR PHONE
ONE ATLANTICO VIDEO DOOR PHONE CONNECTION IN PARALLEL TO
THE VIDEO DOOR PHONE
VX.030 max. distance between basic and secondary video door phone
(terminals V3-V5):
normal wires 20m
coax cable 50m
2-WIRE ONE FAMILY VIDEO KIT