EasyManua.ls Logo

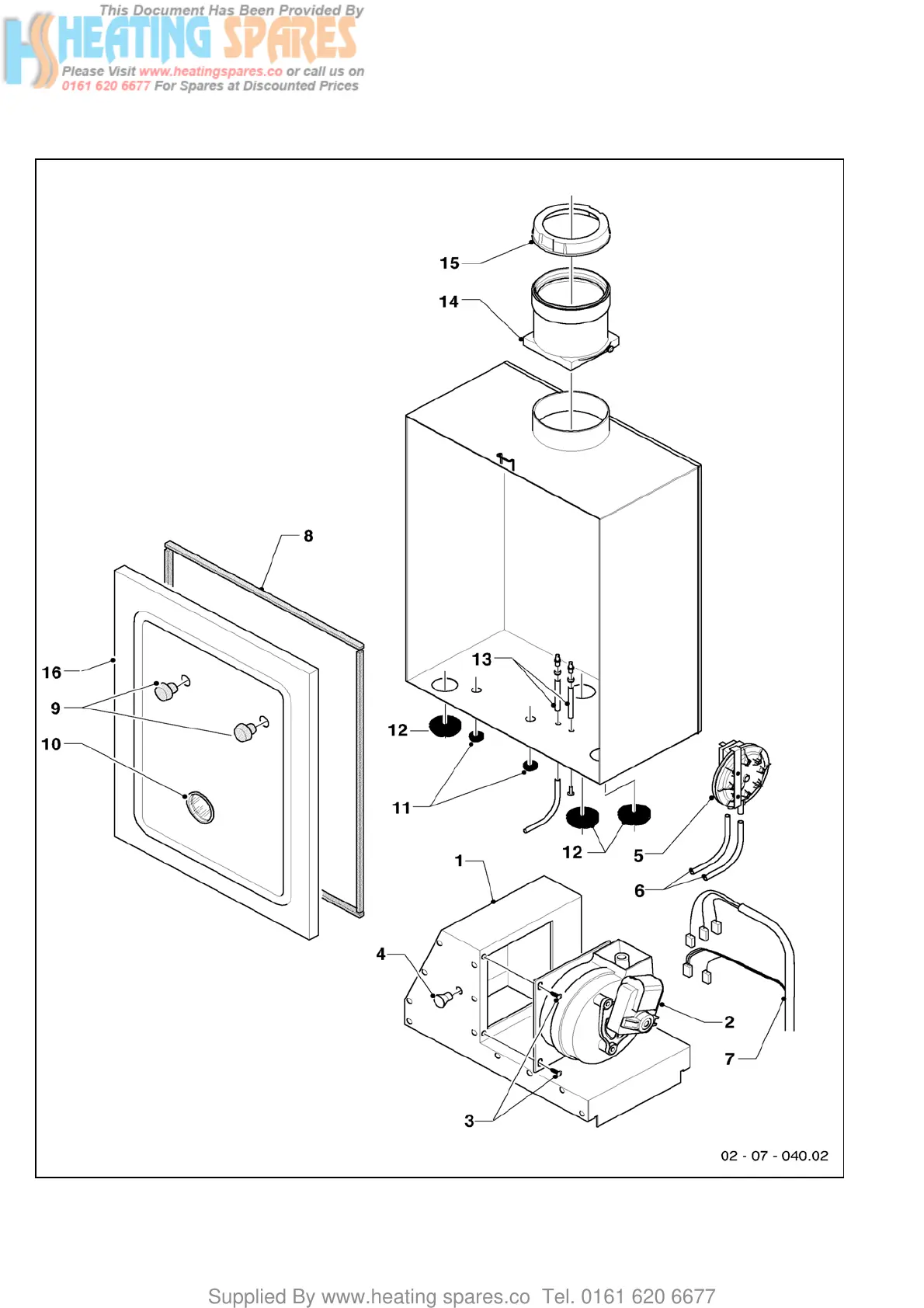
Vaillant 837 E - Main Component 07 B Air Pressure Chamber, Fan; Thermocompact; Turbomax Pro;Plus

Vaillant 837 E
98 pages
Print Icon
To Next Page IconTo Next Page
To Next Page IconTo Next Page
To Previous Page IconTo Previous Page
To Previous Page IconTo Previous Page
Loading...
Supplied By www.heating spares.co Tel. 0161 620 6677
Main component 07b Air pressure chamber, fan
TURBOmax Pro/Plus VUW 242 -3, 282 -3, 242 -5, 282 -5 H/B (inc. ../2)
THERMOcompact VU 152 -5, 202 -5, 242 -5, 282 -5 H/B (inc. ../2)
Subject to alteration ! 802762.04 GB 05/01
9

Table of Contents

Related product manuals