EasyManua.ls Logo

Vaisala HMP7 - プロセスへのボールバルブキットの取り付け

Vaisala HMP7
47 pages
To Next Page IconTo Next Page
To Next Page IconTo Next Page
To Previous Page IconTo Previous Page
To Previous Page IconTo Previous Page
Loading...
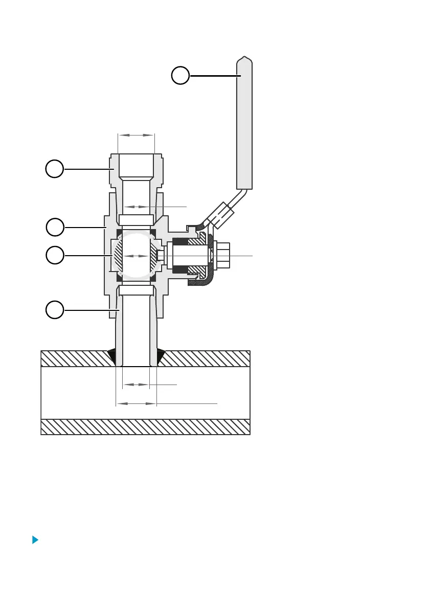
プロセスへのボールバルブキットの取り付け
G1/2
ISO 228/1
Ø21.5(ドリリング)
Ø14
Ø14
Ø14
2
3
4
5
1
1 ボールバルブハンドル: 取り付け時には、ボールバルブ本体と同じ向きを指している
必要があります。
2 延長ニップル、ネジ 1/2 ISO228/1 および R1/2 ISO7/1。
3 ボールバルブ本体。 アセンブリを締め付けるときには、ボールバルブ本体側からのみ
回してください
4 ボールバルブのボール。
5 溶接ジョイント、ネジ R1/2 ISO7/1。
1. 溶接ジョイントをプロセスパイプまたはチャンバーに取り付けます。
32 M211982EN-D

Other manuals for Vaisala HMP7

Related product manuals