EasyManua.ls Logo

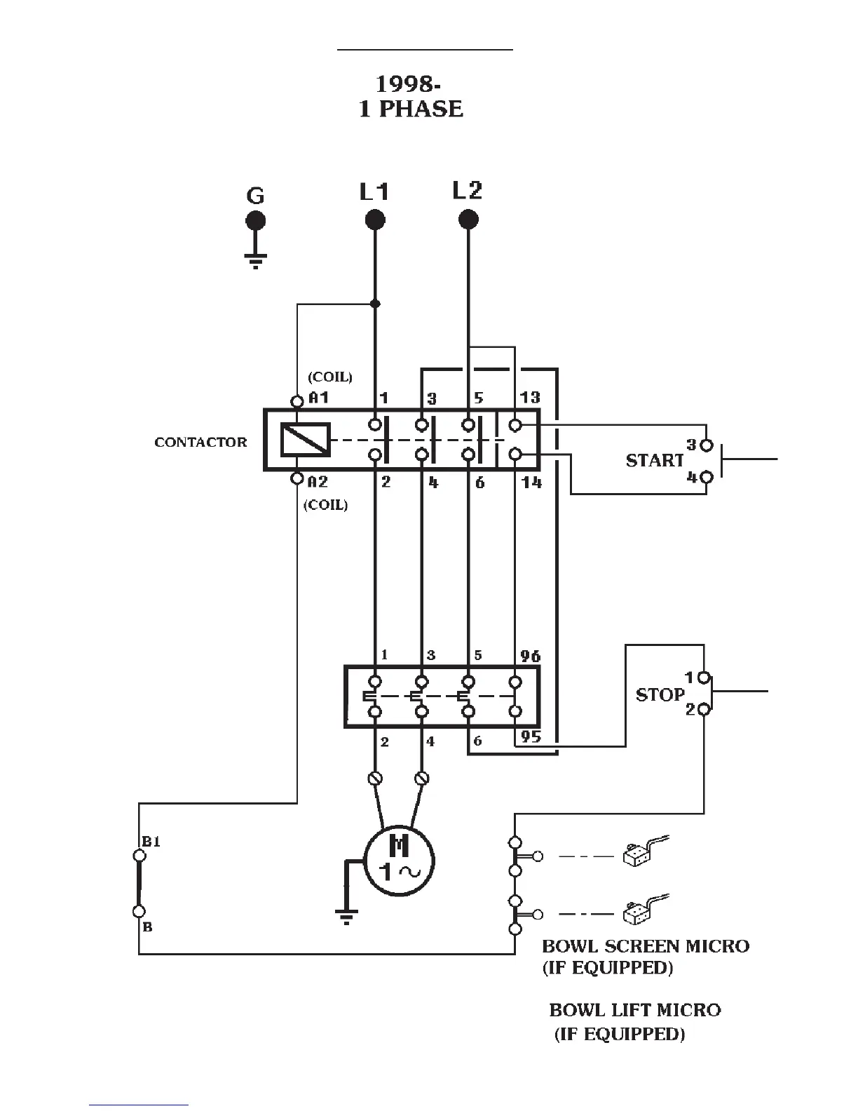
Varimixer V20 - E Lectrical D Iagram

Varimixer V20
32 pages
Print Icon
To Next Page IconTo Next Page
To Next Page IconTo Next Page
To Previous Page IconTo Previous Page
To Previous Page IconTo Previous Page
Loading...
30
elecTrical diagram

Related product manuals