EasyManua.ls Logo

VEVOR RC-2005F - Page 3

VEVOR RC-2005F
7 pages
Print Icon
To Next Page IconTo Next Page
To Next Page IconTo Next Page
To Previous Page IconTo Previous Page
To Previous Page IconTo Previous Page
Loading...
- 2 -
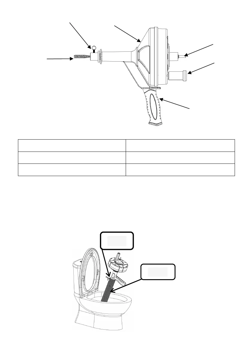
1. Tool Handle
4. Storage Chamber
2. Anti-rotation Bolt
5. Crank Handle
3. Cleaning Spring
6. Drill Adaptor
Application
Kitchen and bathroom plumbing: wash basins, sink, toilets and floor drains.
Manual Operation:
Bellows
O ring

Related product manuals