EasyManua.ls Logo

Viking Range VDWU524SS - Réglage de la Hauteur

Viking Range VDWU524SS
78 pages
Print Icon
To Next Page IconTo Next Page
To Next Page IconTo Next Page
To Previous Page IconTo Previous Page
To Previous Page IconTo Previous Page
Loading...
7
FR
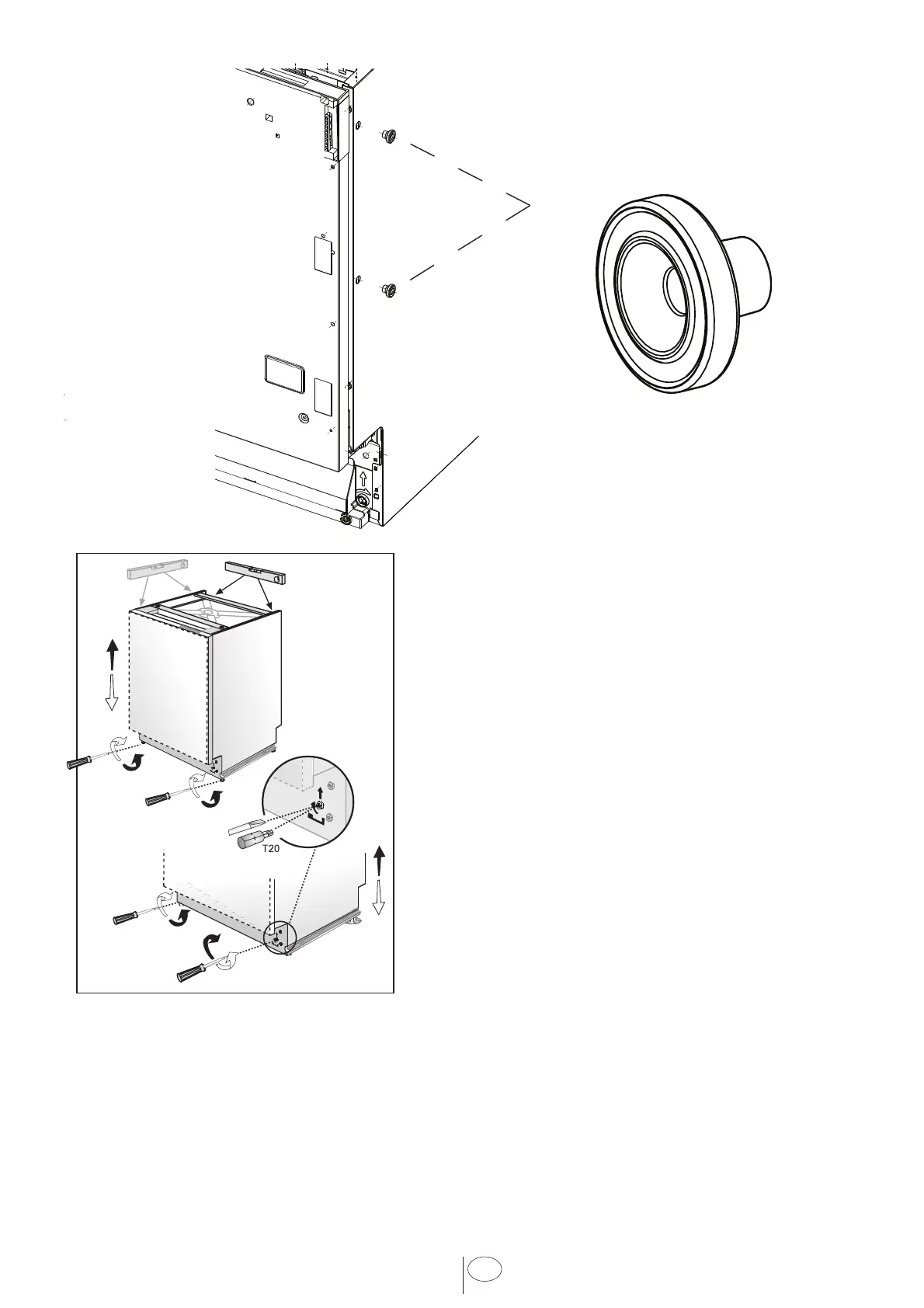
Serrez les caches des deux
côtés de votre machine (v).
Placez les deux supports de fixation dans
les coins supérieurs du lave-vaisselle.
Fixez les supports de fixation (A) aux coins
supérieurs du lave-vaisselle avec les vis fournies.
Pliez les côtés des supports de fixation (B)
afin de les fixer sur les côtés (si nécessaire).
6.3 RÉGLAGE DE LA HAUTEUR
Si la hauteur du cadre est de 33 po
à 35 po (861 mm à 911 mm), réglez
les supports comme indiqué sur la figure.
Fournis (4)
Réglez le niveau des pieds avant avec
la clé de réglage pour équilibrer et surélever
le lave-vaisselle à la hauteur du cadre.
Réglez le niveau des pieds arrière avec
un tournevis pour équilibrer et surélever
le lave-vaisselle à la hauteur du cadre.

Table of Contents