EasyManua.ls Logo

Viking VSOE530 - Page 7

Viking VSOE530
32 pages
Print Icon
To Next Page IconTo Next Page
To Next Page IconTo Next Page
To Previous Page IconTo Previous Page
To Previous Page IconTo Previous Page
Loading...
7
OVEN FUNCTION
OFF
BAKE
UPPER OVEN
SET
OVEN CLEAN OVEN
OVEN
LIGHT
LOW
BROIL
PROOF
MED
BROIL
HI
BROIL
CONV.
BROIL
OVEN TEMPERATURE
OFF
400
CONV.
ROAST
200
300
500
BROIL
OVEN FUNCTION
LOWER OVEN
OVEN TEMPERATURE
OFF
400
200
300
500
BROIL
CLEAN
MIN/SEC
TIMER
BAKE
TIME
START
TIME
TRU
CONVEC
CONV.
BAKE
PROBE
OFF
BAKE
LOW
BROIL
SELF
CLEAN
MED
BROIL
HI
BROIL
CONV.
BROIL
CONV.
ROAST
TRU
CONVEC
CONV.
BAKE
250
350
450
250
350
450
Off/On
Indicator Light
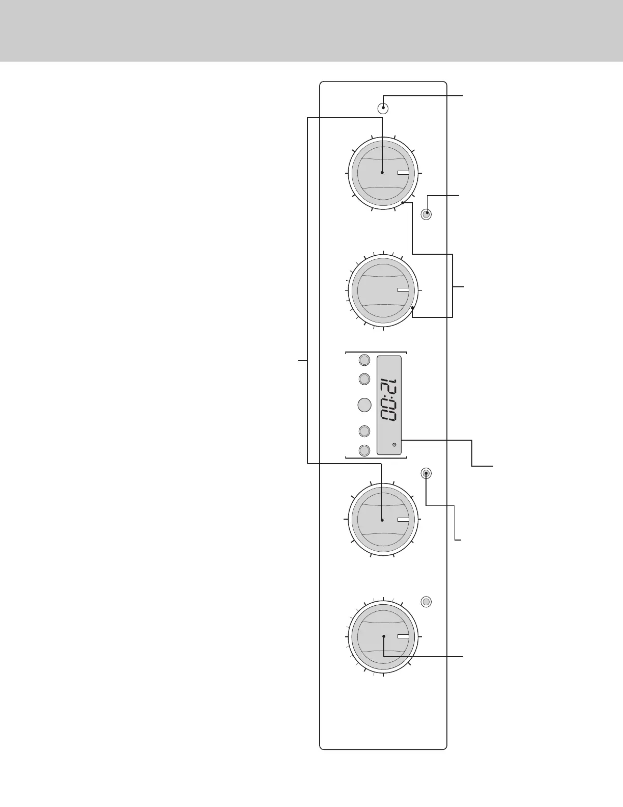
Temperature Control
Each oven has a separate temperature
control dial. The controls can be set at any
temperature from 200˚ F (93.3° C) to 550˚ F
(287.8° C). There are separate settings for
broiling and self-cleaning.
Oven Function Selector
Bake
Conventional, single rack baking (breads, cakes,
cookies, pastry, pies, entrees, vegetables)
Convection Bake
Multi-rack baking for heavier or frozen foods
(e.g., 4 frozen pies, pizzas, entrees, vegetables)
TruConvec
TM
Multi-rack baking for breads, cakes, cookies (up
to 6 racks of cookies
at once)
High-Broil
Dark meats at 1” thickness or less where rare
or medium doneness is desired
Medium-Broil
White meats such as chicken or meats
greater than 1” thick that would be
over-browned in high broil
Low-Broil
Delicate broiling such as meringue
Proof
Designed for allowing yeast dough to rise to a
temperture between 85
0
F (29
0
C)
and 100
0
F (38
0
C)
Convection Broil
Thicker meats, faster than regular broil & with less
smoke generation
Convection Roast
Whole turkeys, whole chickens, hams, etc.
Self-Clean
A pyrolytic self-cleaning cycle where the oven
reaches elevated
temperatures in order to burn
off soils and deposits
Electronic Timing Center
The Electronic Timing Center
is used to program and
control all timing functions.
IMPORTANT–The Time-of-day
must be set before any other
program can be used.
Interior
Oven Light
Switch
SET
Self-Clean
Indicator Light
Oven On Indicator Light
(ring around knob)
Light on Oven Temperature
knob is activated when
temperature selection is made.
Light on Oven Function knob
is activated when oven function
selection is made. Both lighted
rings will pulse when in the
preheat mode.
Oven Control Panel (French Door Models)

Related product manuals