EasyManua.ls Logo

Volvo Penta TAMD71B - Page 24

Volvo Penta TAMD71B
64 pages
Print Icon
To Next Page IconTo Next Page
To Next Page IconTo Next Page
To Previous Page IconTo Previous Page
To Previous Page IconTo Previous Page
Loading...
22 AB Volvo Penta / Diesel Engine TAMD71B
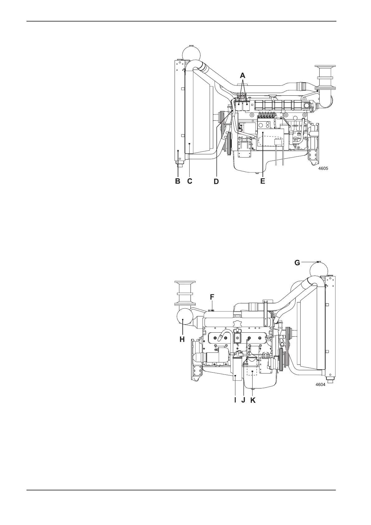
Fig. 6.3 TAMD71B RC (emergency engine with
radiator variant) turboside
A. Fine fuel filters, switchable
B. Radiator
C. Charge air cooler (CAC)
D. Filter for crankcase ventilation
E. Electrical box
Fig. 6.4 TAMD71B RC (emergency engine with
radiator variant) not turboside
F. Engine lubricating oil. Filler cap.
G. Coolant. Cap for checking and topping up.
H. Air Cleaner (ACL)
I. Lubricating oil filter
J. Oil dipstick
K. By-pass filter for lubricating oil (optional)

Table of Contents

Other manuals for Volvo Penta TAMD71B

Related product manuals