EasyManua.ls Logo

Volvo Penta TAMD74P - Page 50

Volvo Penta TAMD74P
124 pages
Print Icon
To Next Page IconTo Next Page
To Next Page IconTo Next Page
To Previous Page IconTo Previous Page
To Previous Page IconTo Previous Page
Loading...
48
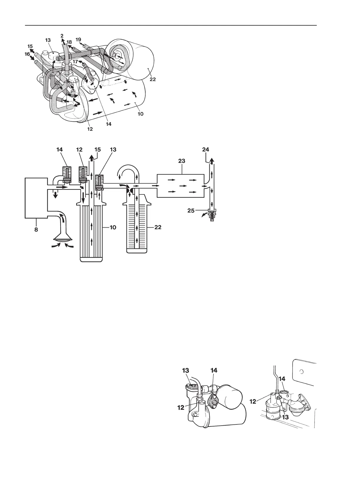
Basic diagram, lubrication system
8. Oil pump
10. Lubricating oil filter
12. Overflow valve
13. Piston cooling valve
14. Relief valve
15. Filtered oil (pressure) to lubrication
system
22. By-pass filter*
23. Oil cooler
24. Oil under pressure for piston cooling
25. By-pass valve
*Note. By-pass filter is an accessory on
the TAMD71 engines.
Valves in the lubrication system
The oil flow in the engine is controlled by four spring-
loaded valves. Three of these are located in a
mounting on the right of the engine and one at the
lower edge of the cylinder block on the left of the
engine.
The relief valve (14) limits system oil pressure in
the engine. This valve opens if the pressure is too
high and allows oil back to the oil pan at high
speeds or if the engine is cold and the lubricating
oil is more viscous.
The overflow valve (12) opens and allows oil past
the lubricating oil filter if the resistance through the
filter is too great. This way oil can flow into the
engine lubrication system even if the filter is
clogged. But the oil entering the system is unfil-
tered. So it is important that the filter is replaced
according to the intervals recommended in the
maintenance schedule.
The piston cooling valve (13) regulates the flow of
oil through the oil cooler and on to piston cooling.
The by-pass valve (25) permits increased oil flow
through the oil cooler. The valve opens and
returns excess oil not required for piston cooling
back to the oil sump.
TAMD63, TAMD73, TAMD74 TAMD71
Valves in the lubrication system
12. Overflow valve 14. Relief valve
13. Piston cooling valve
Lubrication system (sectioned, filter housing) TAMD63
TAMD73 and TAMD74
2. Pressure line to turbocharger 17. Return oil to oil sump via relief
10. Lubricating oil filter valve
12. Overflow valve 18. Oil (pressure) via piston cooling
13. Piston cooling valve valve to oil cooler and piston
14. Relief valve 19. Return oil to oil sump (via by-
15. Filtered press. oil to lubri- pass filter)
cation system 22. By-pass filter
16. Oil (pressure) from oil pump
7740156 - Downloaded from www.volvopenta.com 22/07/2009 00:44:08

Related product manuals