EasyManua.ls Logo

WABCO CAN Router - Page 26

WABCO CAN Router
29 pages
Print Icon
To Next Page IconTo Next Page
To Next Page IconTo Next Page
To Previous Page IconTo Previous Page
To Previous Page IconTo Previous Page
Loading...
26
6
CAN Router
CAN Repeater
Appendix
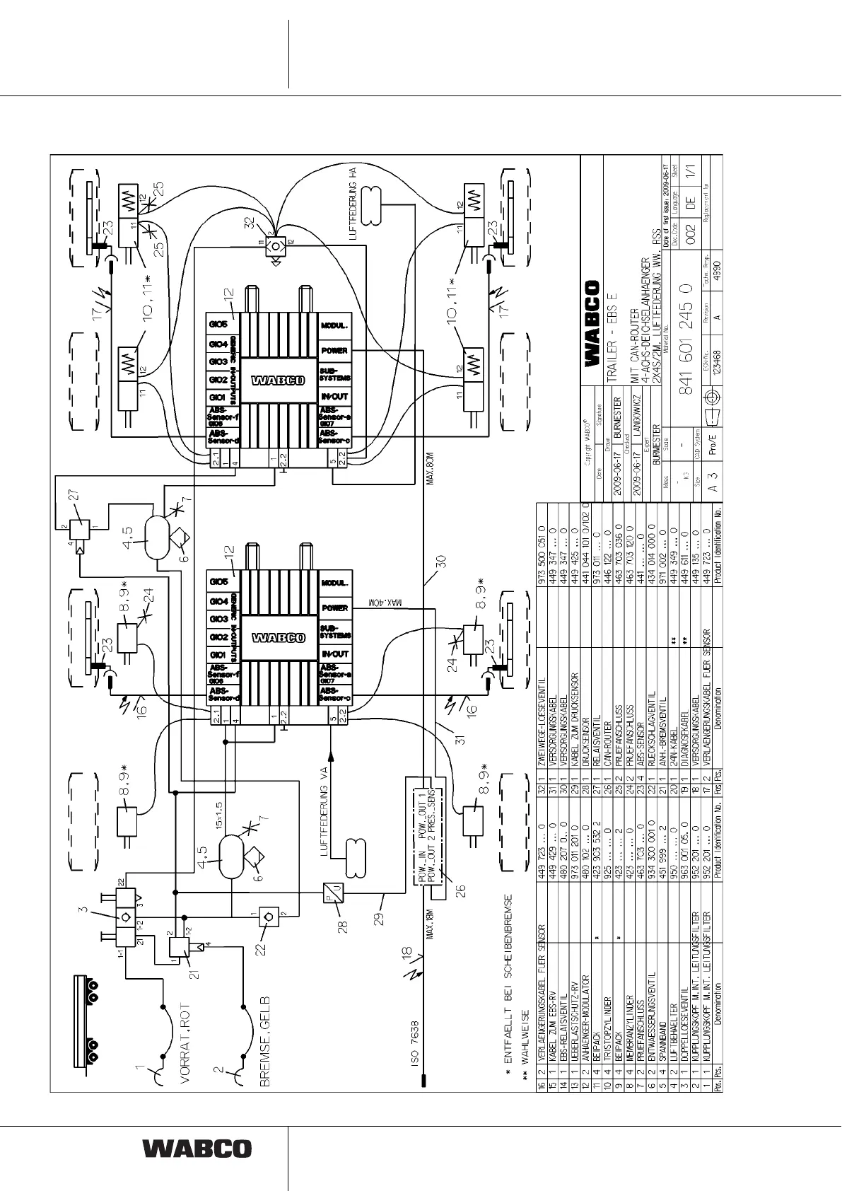
841 601 245 0 Trailer EBS E with CAN router, 2 x 2S/2M in a vehicle