EasyManua.ls Logo

Waring WCO500X - Instrucciones de Puesta a Tierra; Uso de Extensiones

Waring WCO500X
44 pages
Print Icon
To Next Page IconTo Next Page
To Next Page IconTo Next Page
To Previous Page IconTo Previous Page
To Previous Page IconTo Previous Page
Loading...
19
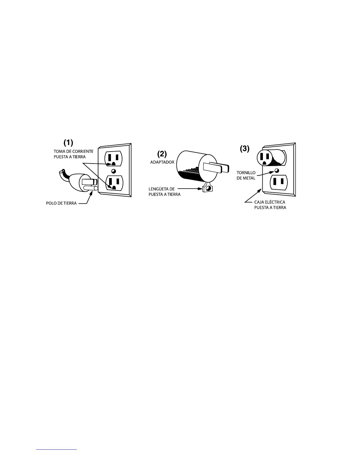
INSTRUCCIONES DE PUESTA A TIERRA
Para su protección, este aparato está equipado con un cable/
enchufe con puesta a tierra, el cual debe ser conectado a una
toma de corriente debidamente puesta a tierra (Fig. 1). Si una
toma de corriente puesta a tierra no está disponible, se podrá usar
un adaptador para conectar el aparato a una toma de corriente
polarizada (Fig. 2). El adaptador debe ser puesto a tierra mediante
un tornillo de metal que conecte la lengüeta del mismo a la caja
eléctrica (Fig. 3).
NOTA: Está prohibido usar un adaptador en el Canadá.
USO DE EXTENSIONES
Solamente use extensiones con puesta a tierra. Solamente utilice
extensiones para uso en interiores La clasificación nominal de la
extensión debe ser por lo menos igual a la del aparato. No utilice
extensiones dañadas. Examine la extensión antes de usarla y
reemplácela si está dañada. No jale el cable para desconectar la
extensión; agárrela por la clavija. Mantenga el cable alejado de las
fuentes de calor y de los objetos cortantes.
NOTA: Enchufe el cable en una toma de corriente de 120V
solamente. No utilice el aparato con un convertidor de voltaje.

Related product manuals