EasyManua.ls Logo

Warmtech WTCAC15-DU - Safety Device

Warmtech WTCAC15-DU
Print Icon
To Next Page IconTo Next Page
To Next Page IconTo Next Page
To Previous Page IconTo Previous Page
To Previous Page IconTo Previous Page
Loading...
46
If heater does not start, turn power switch to “0” and then to “1” position. if the heater still does not start
after three times please contact your dealer.
Attention while the heater is operating, never let the floor ground overheats to prevent causing fire.
Flameout
Pay attention
1when you shut off the heater, make sure the flame is out before you left the appliance.
2Put the power switch to position“0” waitting fan stop working and the indicator extinguishes, then
remove the plug from the socket.
safety device
Flame-out protection
Utilizes a photocell to monitor the flame in burn chamber during normal
operation.The photosensitive resistor will become infinite big , cut off Electrovalve Assy ,will stop offer
oil automatic , the fan will working 90s then cut off the power .
Electrical power breakdown protection
when the power breaks down the heater stops working without the plug being removed from the
socket . When the power is recovered, the indicator will light but the heater will not work. Please press
the power switch to start up the heater.
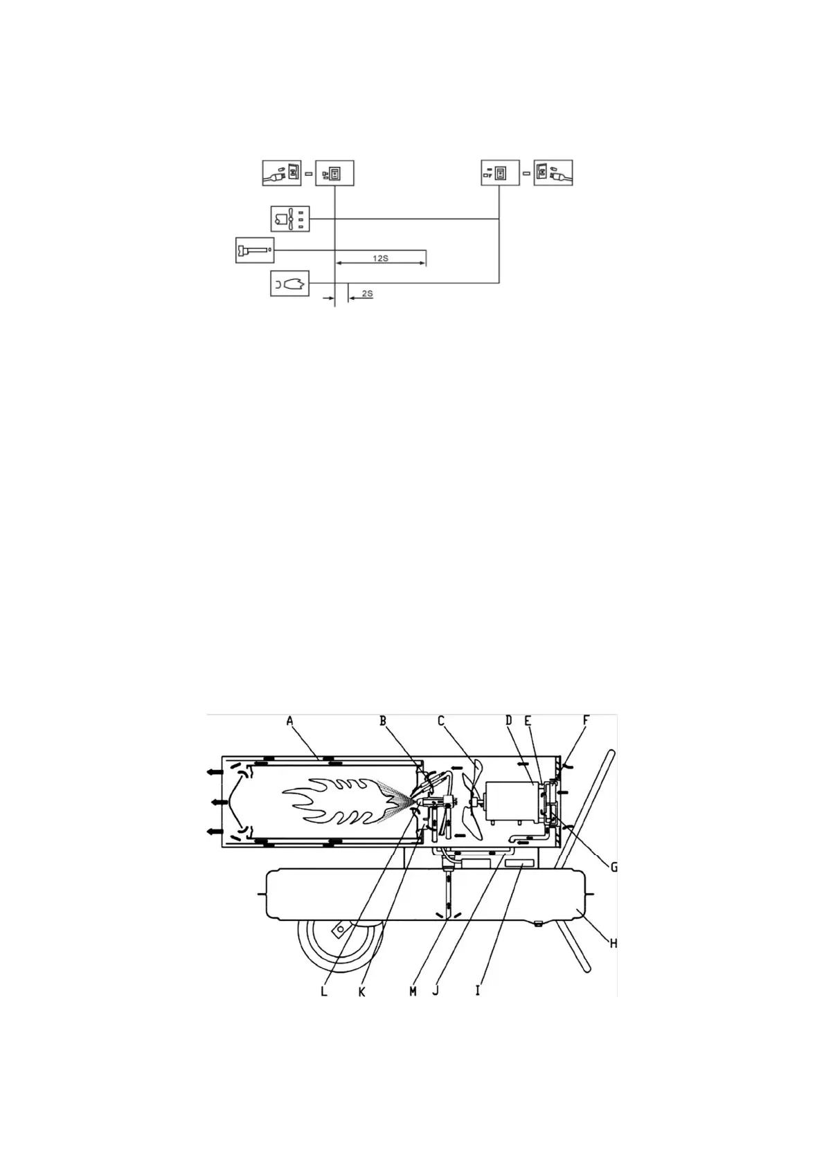
Description of working principles
ACombustion chamber B. Spark plug C. Fan blade D. Motor E. Pump
F. Air intake filter G. Air output filter H. Fuel tank I. Controller J. Air inlet pipe
K. Flame steady plate L. Oil nozzle M. Oil sucking pipe