EasyManua.ls Logo

Wascomat W677 - Page 75

Wascomat W677
142 pages
Print Icon
To Next Page IconTo Next Page
To Next Page IconTo Next Page
To Previous Page IconTo Previous Page
To Previous Page IconTo Previous Page
Loading...
75
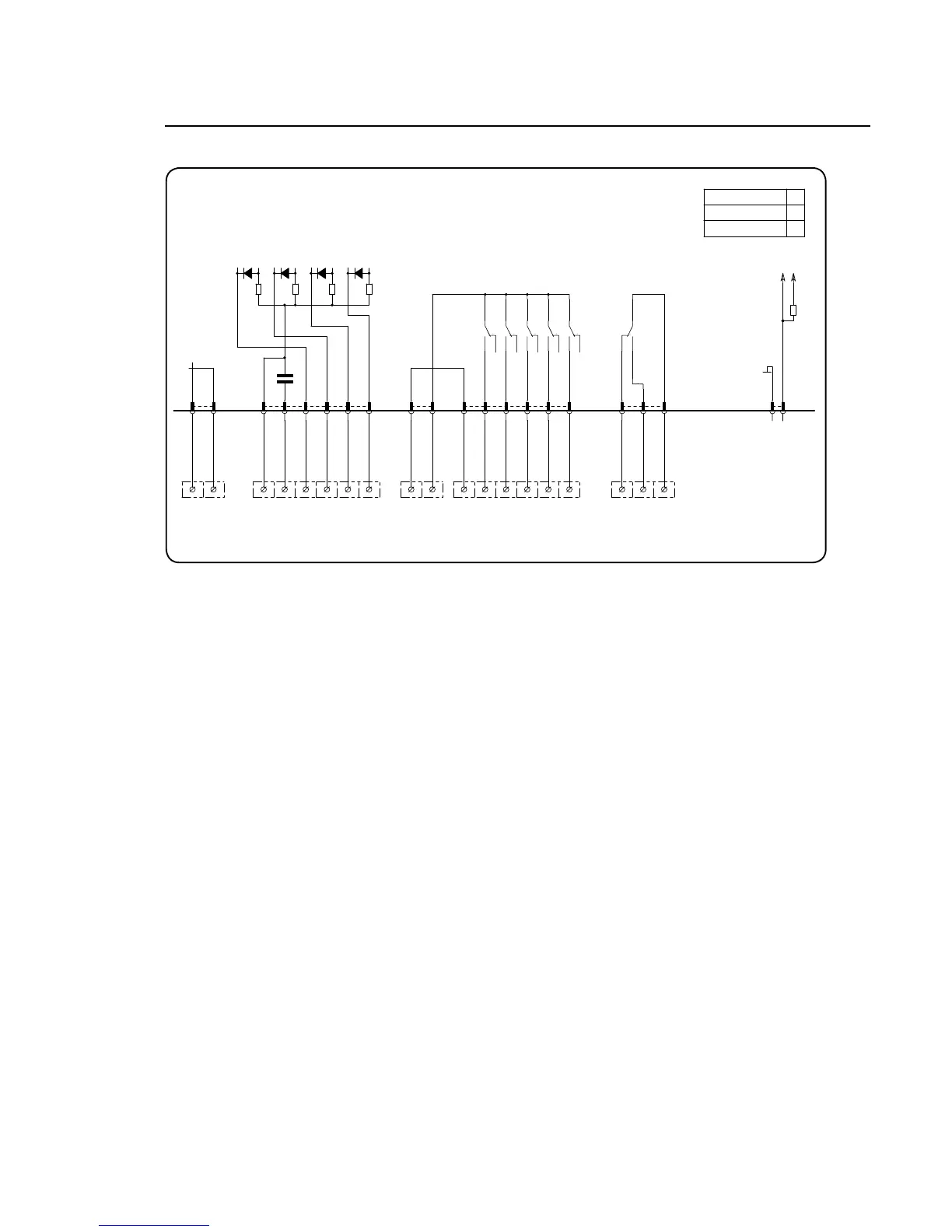
I/O modules
6637



 



 




























        
22G
• Thegasheatingunitmustbeconnectedtoconnections17,18and19.

Related product manuals