EasyManua.ls Logo

Wayne P250AF - Page 11

Wayne P250AF
25 pages
Print Icon
To Next Page IconTo Next Page
To Next Page IconTo Next Page
To Previous Page IconTo Previous Page
To Previous Page IconTo Previous Page
Loading...
10
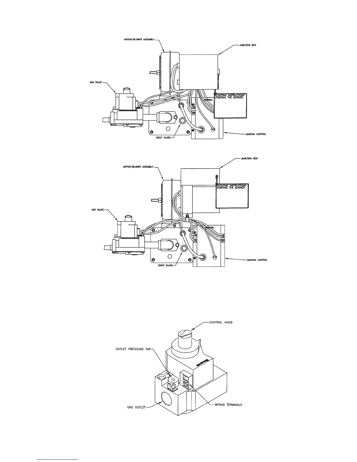
P265DI - JUNCTION BOX ROTATED
P265DI