EasyManua.ls Logo

Webb WER18SP - Deck Assembly Parts List

Webb WER18SP
24 pages
Print Icon
To Next Page IconTo Next Page
To Next Page IconTo Next Page
To Previous Page IconTo Previous Page
To Previous Page IconTo Previous Page
Loading...
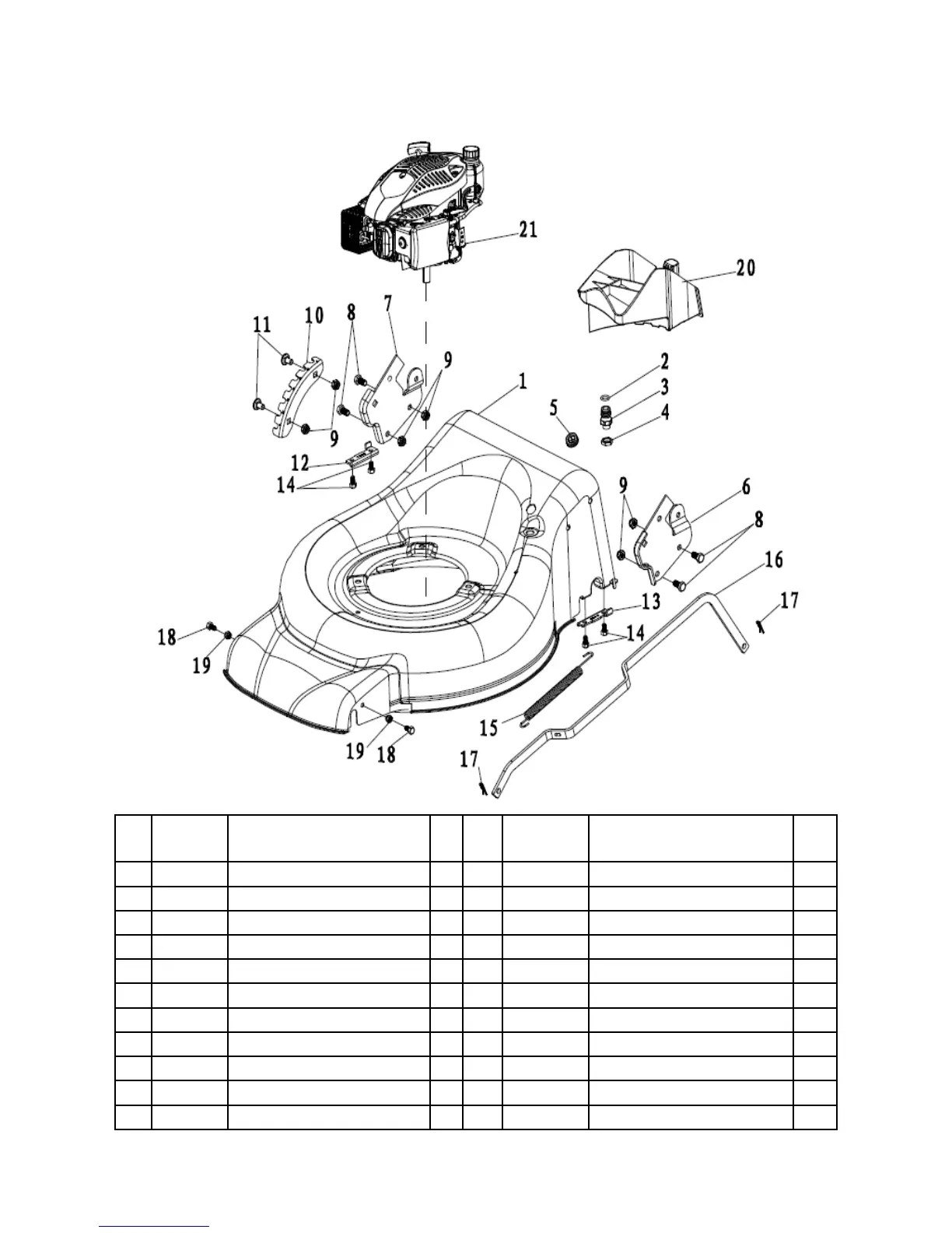
PARTS DIAGRAM AND LIST – DECK ASSEMBLY
Item
No
Part
Number
Description Qty
Item
No
Part
Number
Description Qty
1 WE113-24 Deck 1 12 WE113-35 Rear Drive Right Bracket 1
2 WE113-25 "O" Ring 11.2x2.65 1 13 WE113-36 Rear Drive Left Bracket 1
3 WE113-26 Inlet 1 14 WE113-37 Hex Self-Tapping screw M6x10 4
4 WE113-27 Pipe Connector Nut M12x1.25 1 15 WE113-38 Height Adjustment Spring 1
5 WE113-28 Cable Stopper 1 16 WE113-39 Height Adjustment Rod 1
6 WE113-29 Left Handle Bracket 1 17 WE113-40 R Pin 1.5x25 2
7 WE113-30 Right Handle Bracket 1 18 WE113-41 Bolt M6x12 2
8 WE113-31 Hex Bolt M8x14 4 19 WE113-42 Lock Nut M6 2
9 WE113-32 Lock Nut M8 6 20 WE113-47 Mulch Plug 1
10 WE113-33 Height Adjustment Board 1 21 WE113-48 B&S 450E Petrol Engine 1
11 WE113-34 Square Neck Bolt M8x15/8.8 2
12

Related product manuals